LEMON Manuals: Even more car manuals for everyone: 1960-2025
Home >> Infiniti >> 2002 >> Q45 >> Repair and Diagnosis (Single Page) >> Transmission >> Automatic Trans >> Automatic Transaxle Diagnosis >> A/T Control System >> TCM Function >> Control System Diagram
April 5, 2026: LEMON Manuals is launched! Read the announcement.

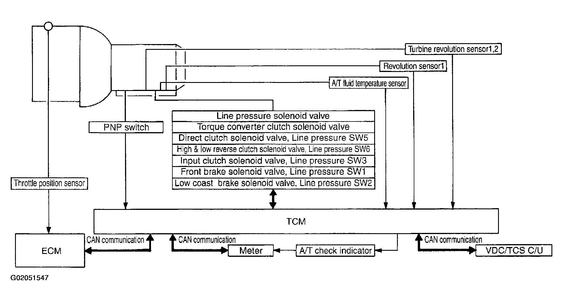
Control System Diagram

Fig 1: Control System Diagram
G02051547Courtesy of NISSAN MOTOR CO., U.S.A.