LEMON Manuals: Even more car manuals for everyone: 1960-2025
Home >> Infiniti >> 2003 >> FX35 AWD >> Repair and Diagnosis >> Body & Frame >> Windows >> Rear Window Defogger >> Filament Check
April 5, 2026: LEMON Manuals is launched! Read the announcement.

Filament Check

  1. When measuring voltage, wrap tin foil around the top of the negative probe. Then press the foil against the wire with your finger.
    Fig 1: Wrapping Tin Foil Around Top Of Negative Probe
    G03107426Courtesy of NISSAN MOTOR CO., U.S.A.
  2. Attach probe circuit tester (in Volt range) to middle portion of each filament.
    Fig 2: Attaching Probe Circuit Tester To Middle Portion Of Each Filament
    G03107427Courtesy of NISSAN MOTOR CO., U.S.A.
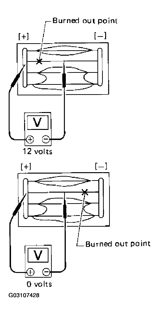
  3. If a filament is burned out, circuit tester registers 0 or battery voltage.
  4. To locate burned out point, move probe to left and right along filament. Test needle will swing abruptly when probe passes the point.
    Fig 3: Moving Probe To Left And Right Along Filament
    G03107428Courtesy of NISSAN MOTOR CO., U.S.A.