LEMON Manuals: Even more car manuals for everyone: 1960-2025
Home >> Infiniti >> 2003 >> FX35 AWD >> Repair and Diagnosis >> Body & Frame >> Windows >> Rear Window Defogger >> Filament Repair >> Repairing Procedure
April 5, 2026: LEMON Manuals is launched! Read the announcement.

Repairing Procedure

  1. Wipe broken heat wire and its surrounding area clean with a cloth dampened in alcohol.
  2. Apply a small amount of conductive silver composition to tip of drawing pen.

    Shake silver composition container before use.

  3. Place ruler on glass along broken line. Deposit conductive silver composition on break with drawing pen. Slightly overlap existing heat wire on both sides [preferably 5 mm (0.20 in)] of the break.
    Fig 1: Depositing Conductive Silver Composition On Break With Drawing Pen
    G03107429Courtesy of NISSAN MOTOR CO., U.S.A.
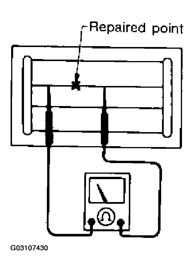
  4. After repair has been completed, check repaired wire for continuity. This check should be conducted 10 minutes after silver composition is deposited.

    Do not touch repaired area while test is being conducted.

    Fig 2: Checking Repaired Wire For Continuity
    G03107430Courtesy of NISSAN MOTOR CO., U.S.A.
  5. Apply a constant stream of hot air directly to the repaired area for approximately 20 minutes with a heat gun. A minimum distance of 3 cm (1.2 in) should be kept between repaired area and hot air outlet.

    If a heat gun is not available, let the repaired area dry for 24 hours.

    Fig 3: Applying Constant Stream Of Hot Air Directly To The Repaired Area With Heat Gun
    G03107431Courtesy of NISSAN MOTOR CO., U.S.A.