LEMON Manuals: Even more car manuals for everyone: 1960-2025
Home >> Infiniti >> 2003 >> FX35 AWD >> Repair and Diagnosis >> Engine Performance >> System >> Engine Controls - Self-Diagnostics >> Diagnostic Tests >> DTC P1217: Engine Over Temperature >> Overall Function Check
April 5, 2026: LEMON Manuals is launched! Read the announcement.

Overall Function Check

WARNING: NEVER remove the radiator cap when the engine is hot. Serious burns could be caused by high pressure fluid escaping from the radiator. Wrap a thick cloth around cap. Carefully remove the cap by turning it a quarter turn to allow build-up pressure to escape. Then turn the cap all the way off.

Use this procedure to check the overall function of the cooling fan. During this check, a DTC might not be confirmed.

Using CONSULT-II

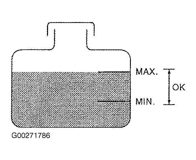
  1. Check the coolant level in the reservoir tank and radiator. Allow engine to cool before checking coolant level. See Fig 1. If the coolant level in the reservoir tank and/or radiator is below the proper range, skip the following steps and go to PROCEDURE "A" under DIAGNOSTIC PROCEDURE .
  2. Confirm whether customer filled the coolant or not. If customer filled the coolant, skip the following steps and go to PROCEDURE "A" under DIAGNOSTIC PROCEDURE .
  3. Turn ignition switch to ON position.
  4. Perform COOLING FAN in ACTIVE TEST mode using CONSULT-II.
  5. If the results are NG, go to PROCEDURE "A" under DIAGNOSTIC PROCEDURE .

Using GST

  1. Check the coolant level in the reservoir tank and radiator. Allow engine to cool before checking coolant level. See Fig 1. If the coolant level in the reservoir tank and/or radiator is below the proper range, skip the following steps and go to PROCEDURE "A" under DIAGNOSTIC PROCEDURE .
  2. Confirm whether customer filled the coolant or not. If customer filled the coolant skip the following steps and go to PROCEDURE "A" under DIAGNOSTIC PROCEDURE .
  3. Perform IPDM ER auto active test and check cooling fan motors operation. See INTELLIGENT POWER DISTRIBUTION MODULE article in appropriate ACCESSORIES & EQUIPMENT.
  4. If NG is displayed, go to DIAGNOSTIC PROCEDURE . If NG is not displayed, system is okay at this time.
Fig 1: Identifying Engine Coolant Level Limits
G00271786Courtesy of NISSAN MOTOR CO., U.S.A.