LEMON Manuals: Even more car manuals for everyone: 1960-2025
Home >> Infiniti >> 2003 >> FX45 >> Repair and Diagnosis (Single Page) >> Brakes >> Brakes Control Systems >> Brake Control System >> System Description >> System Diagram
April 5, 2026: LEMON Manuals is launched! Read the announcement.

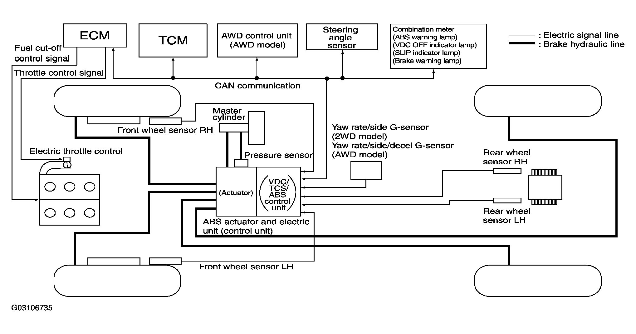
System Diagram

Fig 1: Brake Control System Diagram
G03106735Courtesy of NISSAN MOTOR CO., U.S.A.