LEMON Manuals: Even more car manuals for everyone: 1960-2025
Home >> Infiniti >> 2003 >> I35 >> Repair and Diagnosis >> Brakes >> Traction Control >> VDC >> VDC/TCS/Abs Control Unit >> Removal And Installation >> Notes
April 5, 2026: LEMON Manuals is launched! Read the announcement.

Removal And Installation: Notes

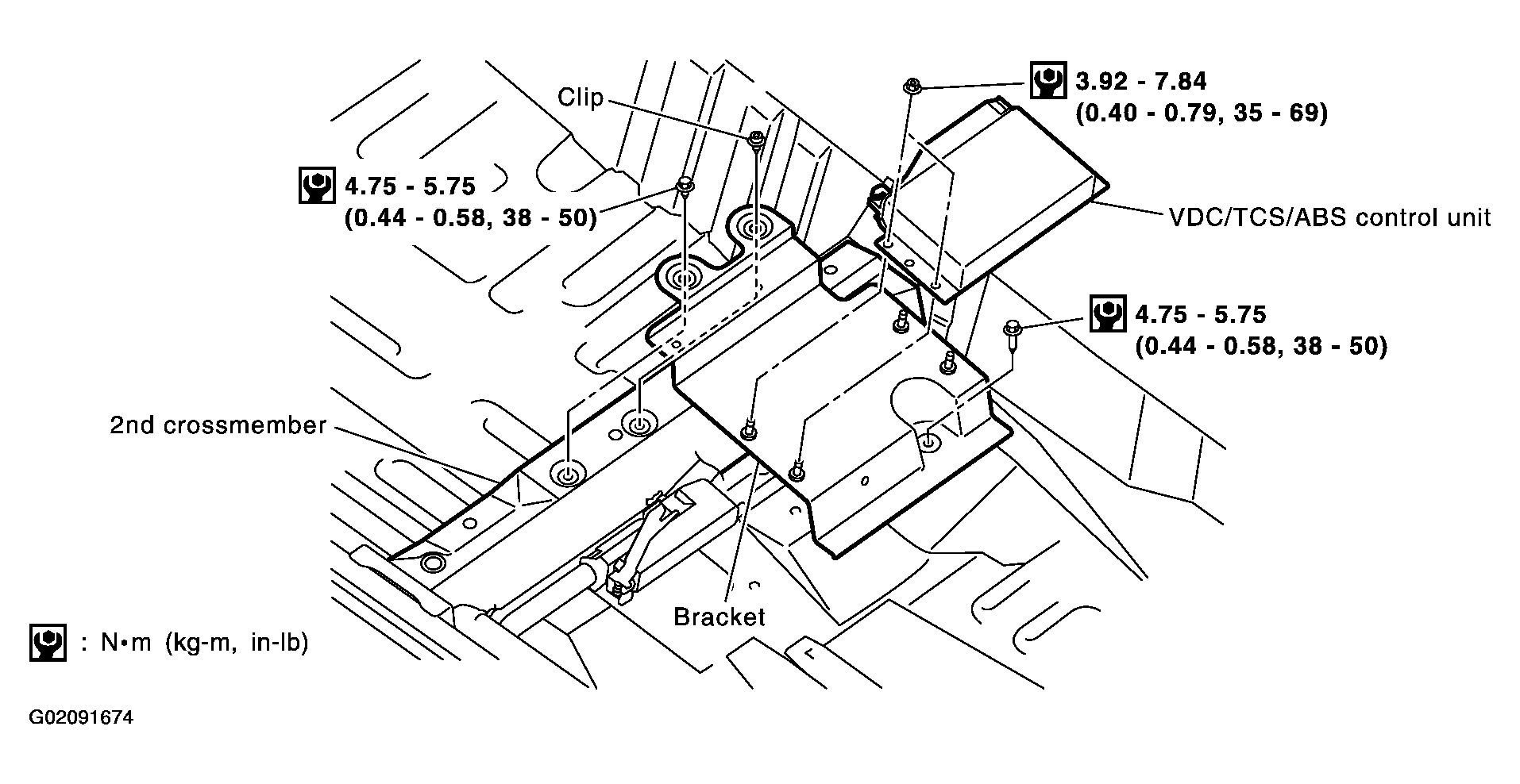
Fig 1: Locating Fasteners For Removal Of VDC/TCS/ABS Control Unit
G02091674Courtesy of NISSAN MOTOR CO., U.S.A.