LEMON Manuals: Even more car manuals for everyone: 1960-2025
Home >> Infiniti >> 2003 >> I35 >> Repair and Diagnosis >> Transmission >> Automatic Trans >> Automatic Transaxle >> Repair For Component Parts >> Control Valve Assembly >> Disassembly
April 5, 2026: LEMON Manuals is launched! Read the announcement.

Control Valve Assembly: Disassembly

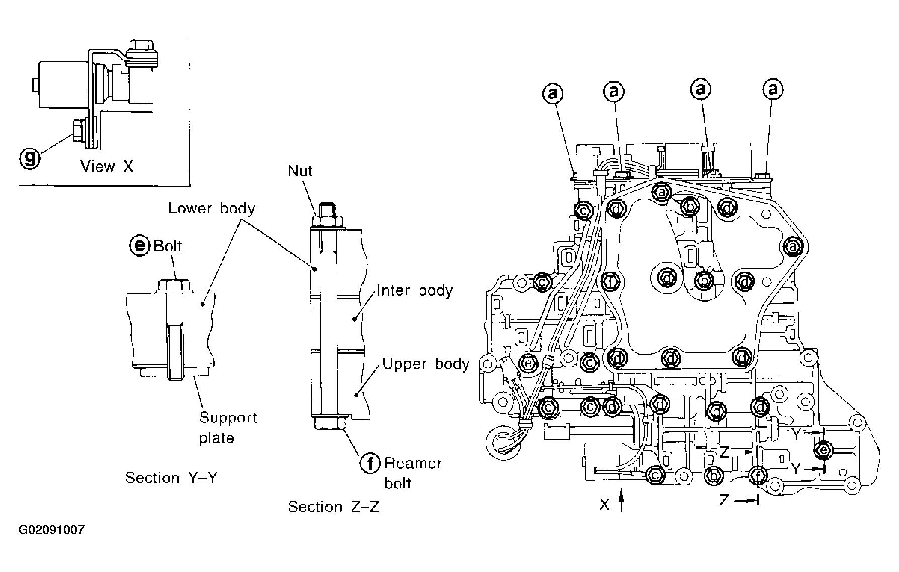
Disassemble upper, inter and lower bodies.

Bolt length, number and location: 

Fig 1: Bolt Length, Number & Location Table
G02091006Courtesy of NISSAN MOTOR CO., U.S.A.
Fig 2: Disassembling Upper, Inter & Lower Bodies
G02091007Courtesy of NISSAN MOTOR CO., U.S.A.
  1. Remove bolts , and nut and remove oil strainer from control valve assembly.
    Fig 3: Locating Oil Strainer
    G02091008Courtesy of NISSAN MOTOR CO., U.S.A.
  2. Remove solenoid valve assembly and line pressure solenoid valve from control valve assembly.
    Fig 4: Removing Solenoid Valve Assembly & Line Pressure Solenoid Valve
    G02091009Courtesy of NISSAN MOTOR CO., U.S.A.
  3. Remove O-rings from solenoid valves and terminal body.
    Fig 5: Removing O-Rings From Terminal Body
    G02091010Courtesy of NISSAN MOTOR CO., U.S.A.
  4. Place upper body facedown, and remove bolts b,  and nut .
    Fig 6: Removing Bolts B, C, & Nut F From Upper Body
    G02091011Courtesy of NISSAN MOTOR CO., U.S.A.
  5. Remove inter body from lower body.
    Fig 7: Removing Inter Body From Lower Body
    G02091012Courtesy of NISSAN MOTOR CO., U.S.A.
  6. Turn over lower body, and remove accumulator support plate.
    Fig 8: Removing Accumulator Support Plate From Lower Body
    G02091013Courtesy of NISSAN MOTOR CO., U.S.A.
  7. Remove bolts , separating plate and separating gasket from lower body.
  8. Remove check balls and oil cooler relief valve springs from lower body.
    • Be careful not to lose check balls and oil cooler relief valve springs. 
    Fig 9: Removing Check Balls & Oil Cooler Relief Valve Springs
    G02091014Courtesy of NISSAN MOTOR CO., U.S.A.
  9. Remove inter body from upper body.
    Fig 10: Removing Inter Body From Upper Body
    G02091015Courtesy of NISSAN MOTOR CO., U.S.A.
  10. Check to see that steel balls are properly positioned in inter body and then remove them.
      Fig 11: Locating Steel Ball Positions In Inter Body
      G02091016Courtesy of NISSAN MOTOR CO., U.S.A.
    • Be careful not to lose steel balls. 
  11. Check to see that steel balls are properly positioned in upper body and then remove them.
    Fig 12: Locating Steel Ball Positions In Upper Body
    G02091017Courtesy of NISSAN MOTOR CO., U.S.A.
    • Be careful not to lose steel balls.