LEMON Manuals: Even more car manuals for everyone: 1960-2025
Home >> Infiniti >> 2003 >> I35 >> Repair and Diagnosis >> Transmission >> Automatic Trans >> Automatic Transaxle >> Repair For Component Parts >> Final Drive >> Assembly
April 5, 2026: LEMON Manuals is launched! Read the announcement.

Final Drive: Assembly

  1. Attach side gear thrust washers to side gears, then install pinion mate thrust washers and pinion mate gears in place.
    Fig 1: Installing Pinion Mate Thrust Washers & Pinion Mate Gears
    G02091192Courtesy of NISSAN MOTOR CO., U.S.A.
  2. Insert pinion mate shaft.
    Fig 2: Inserting Pinion Mate Shaft
    G02091193Courtesy of NISSAN MOTOR CO., U.S.A.
    • When inserting, be careful not to damage pinion mate thrust washers. 
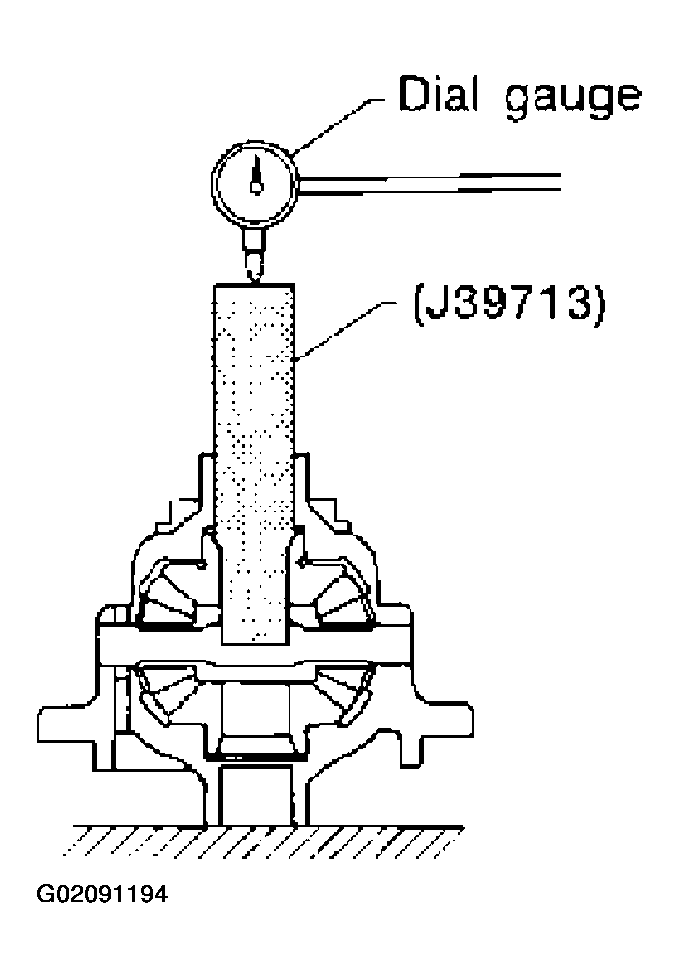
  3. Measure clearance between side gear and differential case with washers following the procedure below:
    Fig 3: Measuring Clearance Between Side Gear & Differential Case
    G02091194Courtesy of NISSAN MOTOR CO., U.S.A.
    1. Set Tool and dial indicator on side gear.
    2. Move side gear up and down to measure dial indicator deflection. Always measure indicator deflection on both side gears.
      Fig 4: Using Dial Indicator To Measure Side Gear Up & Down
      G02091195Courtesy of NISSAN MOTOR CO., U.S.A.
      1. Clearance between side gear and differential case with washers: 
        1. 0.1 - 0.2 mm (0.004 - 0.008 in) 
    3. If not within specification, adjust clearance by changing thickness of side gear thrust washers.
      1. Side gear thrust washer: 
        1. Refer to SDS  LOW & REVERSE BRAKE  . 
  4. Install lock pin.
    • Make sure that lock pin is flush with case. 
    Fig 5: Installing Lock Pin
    G02091196Courtesy of NISSAN MOTOR CO., U.S.A.
  5. Install speedometer drive gear on differential case.
    Fig 6: Installing Speedometer Drive Gear On Differential Case
    G02091197Courtesy of NISSAN MOTOR CO., U.S.A.
    • Align the projection of speedometer drive gear with the groove of differential case. 
  6. Press on differential side bearings.
    Fig 7: Pressing On Differential Side Bearings
    G02091198Courtesy of NISSAN MOTOR CO., U.S.A.
  7. Install final gear and tighten fixing bolts in a crisscross pattern.
    Fig 8: Installing Final Gear & Tighten Fixing Bolts
    G02091199Courtesy of NISSAN MOTOR CO., U.S.A.