LEMON Manuals: Even more car manuals for everyone: 1960-2025
Home >> Infiniti >> 2003 >> M45 >> Repair and Diagnosis >> Body & Frame >> Door Locks >> Electronic Key System >> Electronic Key System >> Schematic
April 5, 2026: LEMON Manuals is launched! Read the announcement.

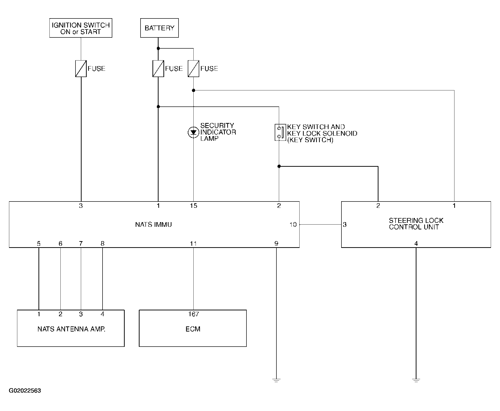
Electronic Key System: Schematic

Fig 1: Schematic Diagram Of Electronic Key System
G02022563Courtesy of NISSAN MOTOR CO., U.S.A.