LEMON Manuals: Even more car manuals for everyone: 1960-2025
Home >> Infiniti >> 2003 >> Q45 >> Repair and Diagnosis >> Body & Frame >> Windows >> Rear Window Defogger >> Schematic
April 5, 2026: LEMON Manuals is launched! Read the announcement.

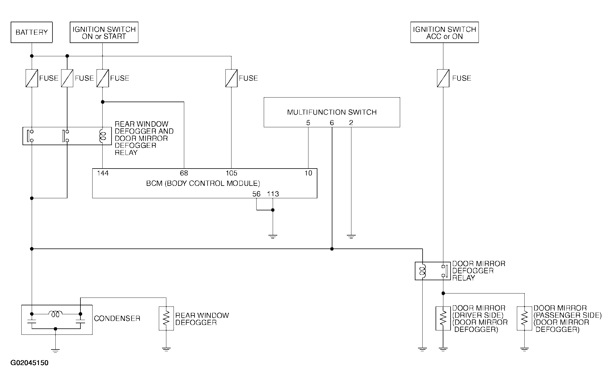
Rear Window Defogger: Schematic

Fig 1: Rear Window Defogger Schematic Diagram
G02045150Courtesy of NISSAN MOTOR CO., U.S.A.