LEMON Manuals: Even more car manuals for everyone: 1960-2025
Home >> Infiniti >> 2004 >> FX35 RWD >> Repair and Diagnosis >> Engine Performance >> Engine Control System >> ICC Brake Switch >> Component Inspection >> ICC Brake Hold Relay
April 5, 2026: LEMON Manuals is launched! Read the announcement.

ICC Brake Hold Relay

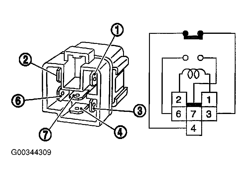
  1. Apply 12V direct current between ICC brake hold relay terminals 1 and 2.
  2. Check continuity between relay terminals 3 and 4, 6 and 7 under the following conditions.
    Fig 1: Identifying Relay Terminals
    G00344309Courtesy of NISSAN MOTOR CO., U.S.A.
    Fig 2: ICC Brake Hold Relay Specifications
    G00344308Courtesy of NISSAN MOTOR CO., U.S.A.
  3. If NG, replace ICC brake hold relay.