LEMON Manuals: Even more car manuals for everyone: 1960-2025
Home >> Infiniti >> 2004 >> FX45 >> Repair and Diagnosis (Single Page) >> Transmission >> Automatic Trans >> Diagnosis >> A/T Control System >> Engine Brake Control
April 5, 2026: LEMON Manuals is launched! Read the announcement.

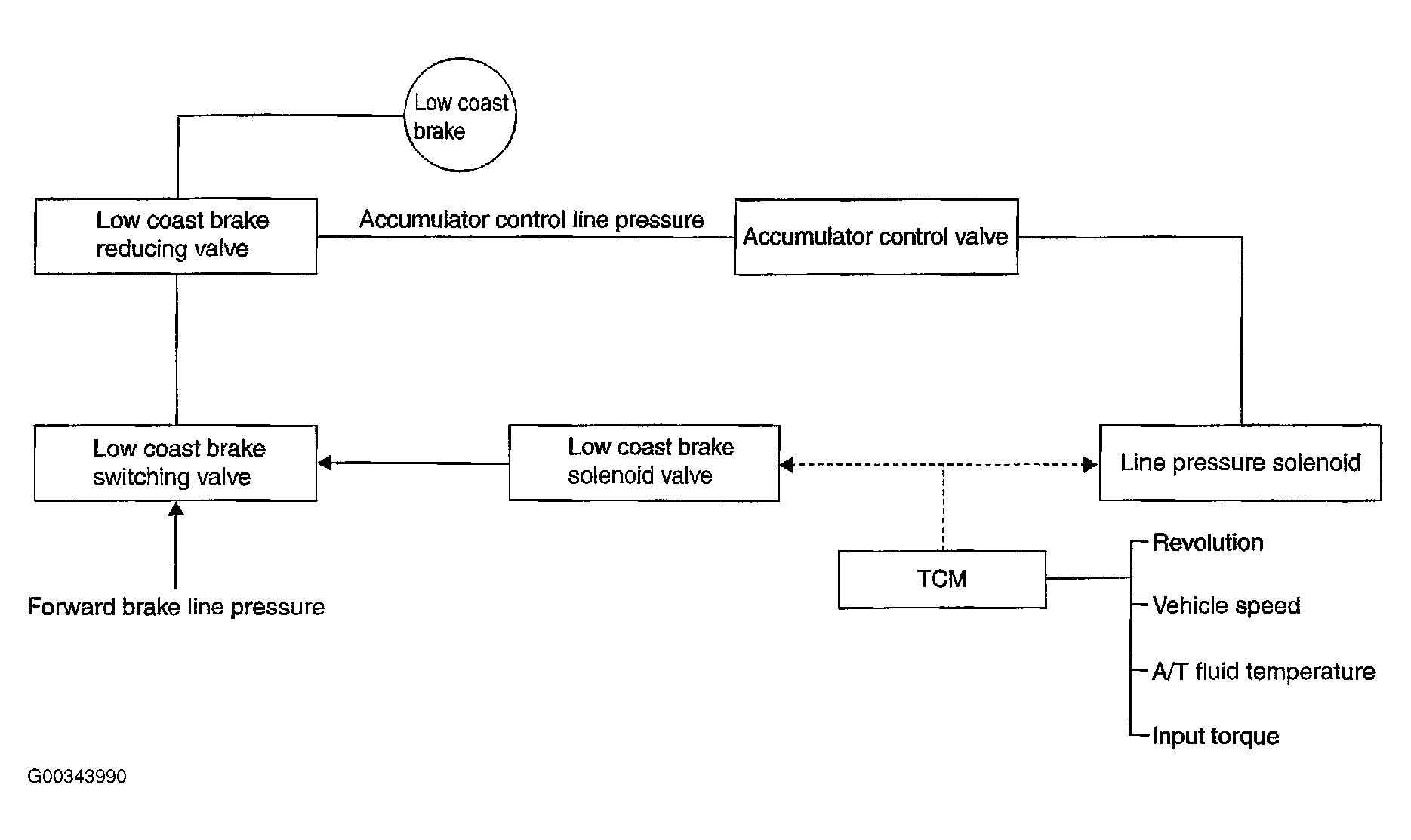
Engine Brake Control