LEMON Manuals: Even more car manuals for everyone: 1960-2025
Home >> Infiniti >> 2004 >> FX45 >> Repair and Diagnosis >> External Pages >> Different car >> Section 246 (Engine Cooling System) >> Cooling System >> System Drawing
April 5, 2026: LEMON Manuals is launched! Read the announcement.

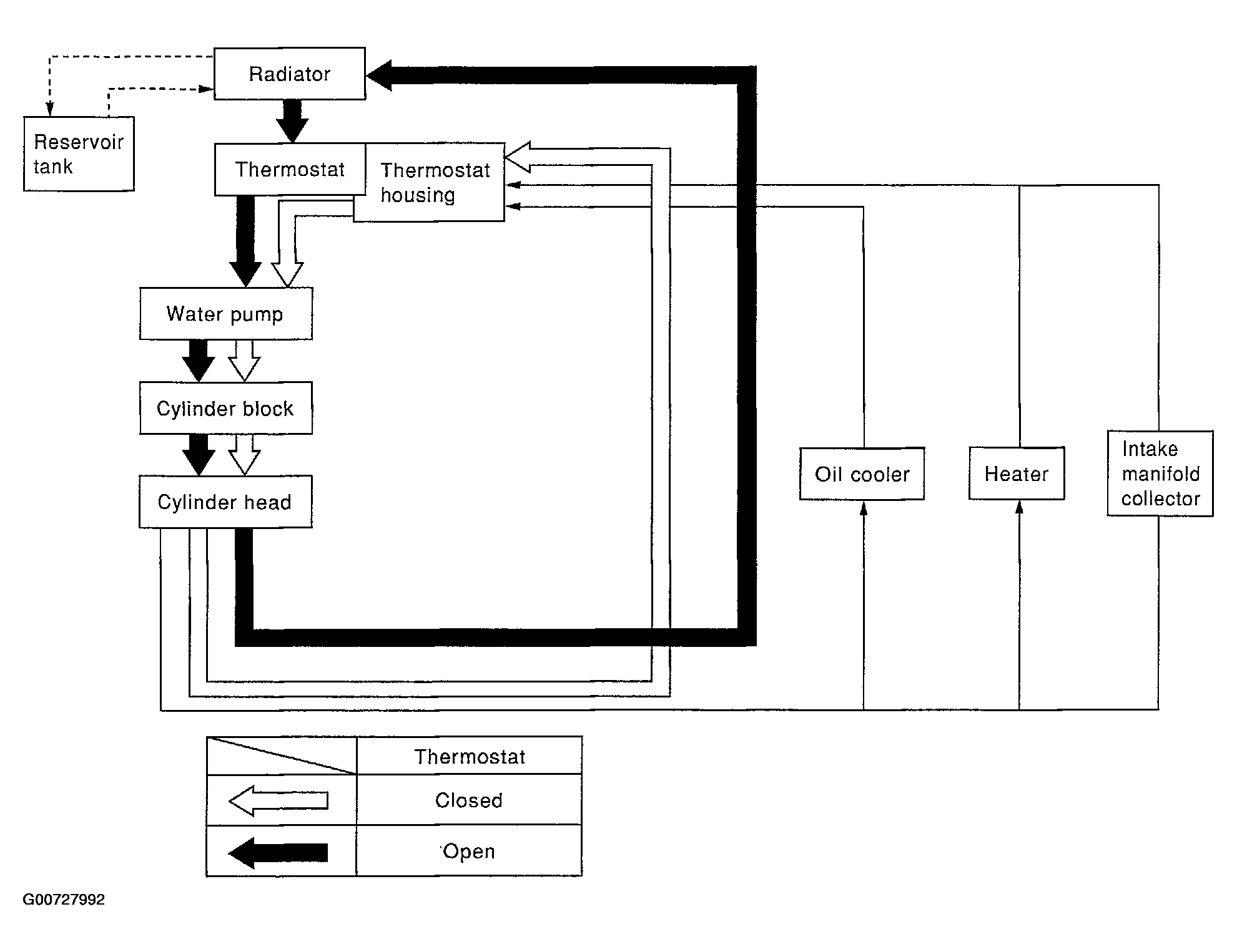
System Drawing

WARNING: This page is about a different car, the 2004 Infiniti FX35. However, it is still accessible from the selected car via links, so may be relevant.
Fig 1: Displaying Thermostat Coolant Flow (Open & Closed)
G00727992Courtesy of NISSAN MOTOR CO., U.S.A.