LEMON Manuals: Even more car manuals for everyone: 1960-2025
Home >> Infiniti >> 2004 >> G35 x >> Repair and Diagnosis (Single Page) >> Transmission >> Automatic Trans >> 2004.5 - Automatic Transaxle - Sedan >> A/T Control System >> TCM Function >> Control System Diagram
April 5, 2026: LEMON Manuals is launched! Read the announcement.

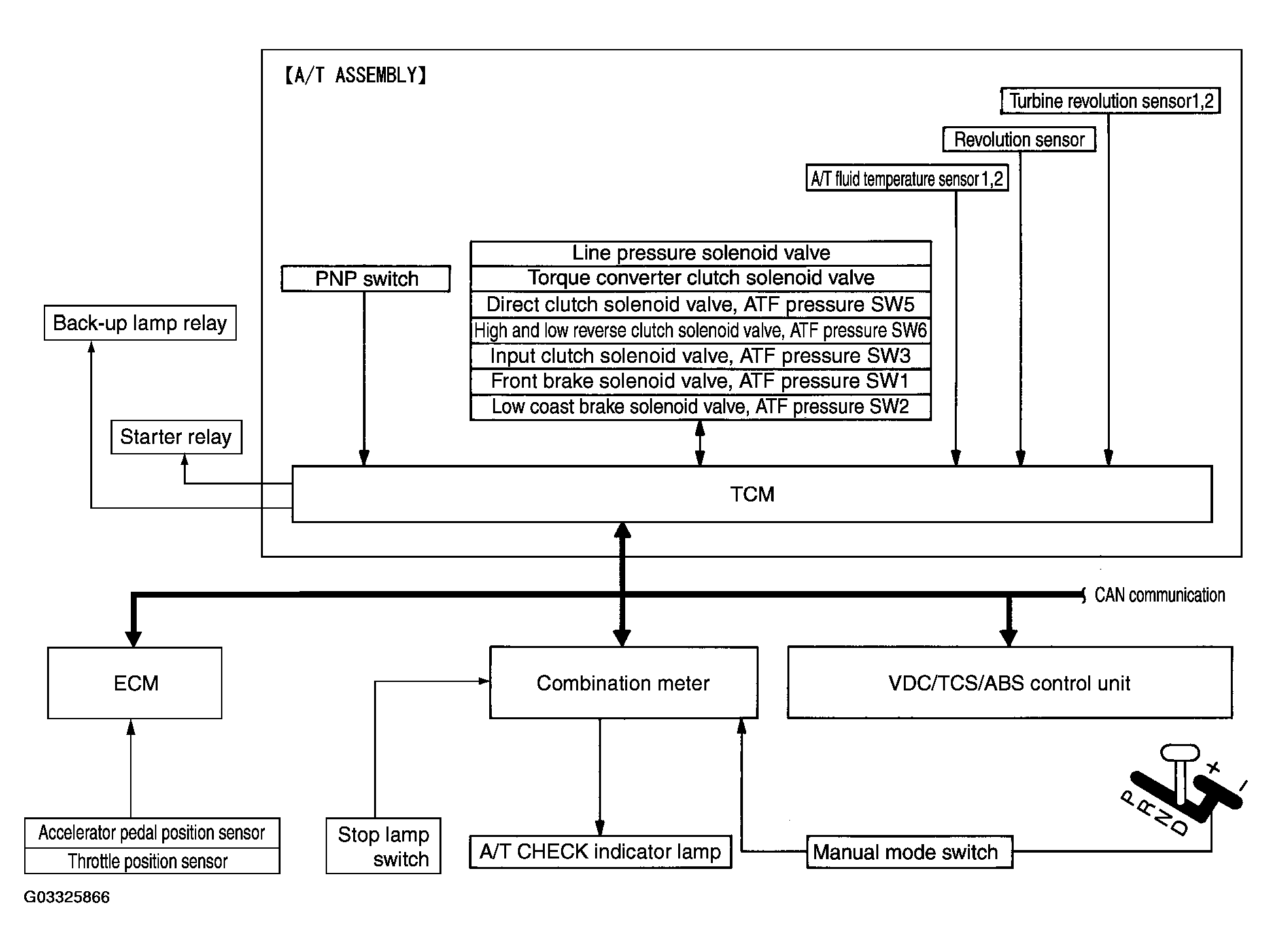
Control System Diagram

Fig 1: Identifying Control System Diagram
G03325866Courtesy of NISSAN MOTOR CO., U.S.A.