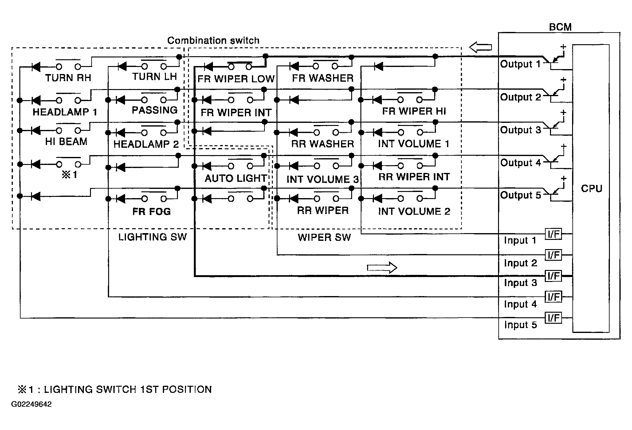
Sample Operation: (When Wiper Switch is Turned ON)
- When the wiper switch is turned ON, contact in the combination switch turns ON. At this time if OUTPUT 1 transistor is activated, the BCM detects that voltage changes in INPUT 3.
- When the OUTPUT 1 transistor is ON, the BCM detects that voltage changes in INPUT 3, and judges that front wiper low is ON. Then the BCM sends a front wiper request signal (LO) to the IPDM E/R using CAN communication.
- When OUTPUT 1 transistor is activated again, BCM detects that voltage changes in INPUT 3, and recognizes that the wiper switch is continuously ON.
NOTE:
Each OUTPUT terminal transistor is activated at 10 ms intervals. Therefore, after the switch is turned ON, electrical loads are activated with time delay. This time delay is so short that it cannot be detected by human senses.