LEMON Manuals: Even more car manuals for everyone: 1960-2025
Home >> Infiniti >> 2004 >> QX56 RWD >> Repair and Diagnosis >> External Pages >> Different car >> Section 13 (Body Control Modules) >> System Tests >> Test B: Scan Tool Does Not Communicate With Class 2 Device >> Testing
April 5, 2026: LEMON Manuals is launched! Read the announcement.

Test B: Scan Tool Does Not Communicate With Class 2 Device: Testing

WARNING: This page does not describe the selected car, but rather 8 other vehicles, including the 2002 GMC Savana, 2002 Chevrolet Chevy Express, 2001 GMC Savana Special, 2001 GMC Savana Camper Special, and 2001 GMC Savana. However, it is still accessible from the selected car via links, so may be relevant.
  1. Turn ignition switch to OFF position. Connect scan tool to Data Link Connector (DLC), located below steering column. Turn ignition switch to RUN position. If scan tool powers up, go to next step. If scan tool does not power up, go to TEST A: SCAN TOOL DOES NOT POWER UP  .
  2. Turn ignition switch to RUN position. Attempt to communicate with each module on class 2 serial data line. If scan tool communicates with any module, go to next step. If scan tool does not communicate with any module, go to step  7 .
  3. Select Display DTCs function for each module. Record all DTCs, DTC status and which module set the DTC(s). If any DTCs between DTC U1000 and U1255 are set, go to next step. If no DTCs between DTC U1000 and U1255 are set, go to DIAGNOSTIC AIDS  .
  4. If DTCs U1300, U1301, or U1305 are retrieved from any module, go to next step. If no DTCs are retrieved, go to step  6 .
  5. Test the class 2 serial data circuit for a short to ground or short to voltage. If condition is found, repair as necessary and go to step  23 . If no condition is found, go to next step.
  6. If only DTC U1000 or U1255 are set, go to DTC U1000 OR U1255: CLASS 2 COMMUNICATION MALFUNCTION  under DIAGNOSTIC TESTS. If other DTC(s) between DTC U1000 and U1255 are set, go to DTC U1001-U1254: LOSS OF XXX COMMUNICATION  under DIAGNOSTIC TESTS.
  7. Turn ignition switch to OFF position. Disconnect scan tool from DLC. Check DLC terminals No. 2 and 5 for intermittent or poor terminal contact. See Figure . If terminal contact is okay, go to next step. If terminal contact is not okay, repair as necessary. Perform appropriate diagnostic system check. See DIAGNOSTIC SYSTEM CHECK  .
  8. Check for open in Black wire (ground circuit) between ground and DLC terminal No. 4. If Black wire is okay, go to next step. If Black wire is not okay, repair circuit as necessary. Perform appropriate diagnostic system check. See DIAGNOSTIC SYSTEM CHECK  .
  9. Disconnect splice S207, located in instrument panel harness, approximately 2 inches from park brake warning switch breakout, toward data link connector (DLC) breakout, and splice S153, located in engine harness approximately 3 inches from C100 breakout toward PCM breakout (except 6.5L), or in engine harness, approximately 10 inches from A/C compressor clutch breakout toward C100 breakout (6.5L). See Figure . Check for continuity of Purple wire between suspect module and S207 and between S207 and S153. If circuit(s) are okay, go to next step. If circuit(s) are not okay, repair as necessary. After repair, perform appropriate diagnostic system check. See DIAGNOSTIC SYSTEM CHECK  table under SELF-DIAGNOSTICS.
  10. Check for open or short in Purple wire (class 2 serial data circuit) between DLC terminal No. 2 and splice connector S207 terminal "A". See Figure . If Purple wire is okay, go to next step. If Purple wire is not okay, repair circuit as necessary. Perform appropriate diagnostic system check. See DIAGNOSTIC SYSTEM CHECK  table under SELF-DIAGNOSTICS.
  11. Connect a jumper wire between DLC terminal No. 2 (Purple wire) and radio (IRC) harness connector terminal A2 (Purple wire). See Figure and Fig 1 . Turn ignition switch to RUN position. Attempt to communicate with IRC. If scan tool does not communicate with IRC, go to next step. If scan tool communicates with IRC, go to step  13 .
    Fig 1: Identifying Radio Harness Connector Terminals
    G99B02306Courtesy of GENERAL MOTORS CORP.
  12. Turn ignition switch to OFF position. Disconnect IRC Light Gray 24-pin harness connector. Check for short to ground or voltage in Purple wire (class 2 serial data circuit) between DLC terminal No. 2 and IRC harness connector terminal A2. Turn ignition switch to RUN position when checking for short to voltage. See Figure and Fig 1 . If Purple is okay, go to step  21 . If Purple wire is not okay, repair as necessary. After repair, go to step  23 .
  13. Remove jumper wire from IRC connector, leaving other end connected to DLC terminal No. 2. Connect other end to PCM harness connector as specified. See POWERTRAIN CONTROL MODULE SERIAL DATA CIRCUIT IDENTIFICATION  table. See Figure , Fig 2 and Fig 3 . Turn ignition switch to RUN position. Attempt to communicate with PCM. If scan tool does not communicate with PCM, go to next step. If scan tool communicates with PCM, go to step  15 .
    POWERTRAIN CONTROL MODULE SERIAL DATA CIRCUIT IDENTIFICATION

    Vehicle Option (RPO Code) Connector/Terminal
    8.1L MFI/4.3L CPI HO (L18/L35) C1/58
    5.0L CPI/5.7L CPI (L30/L31) C1/59
    6.5L Turbo Diesel HO (L65) C3/C8
    Fig 2: Identifying Powertrain Control Module Harness Connector C1 Terminals (Except Diesel)
    G00050875Courtesy of GENERAL MOTORS CORP.
    Fig 3: Identifying Powertrain Control Module Harness Connector Terminals (Diesel)
    G00039879Courtesy of GENERAL MOTORS CORP.
  14. Turn ignition switch to OFF position. Disconnect PCM harness connector C1, or C3 on vehicles with diesel engines. Check for short to ground or voltage in Purple wire (class 2 serial data circuit) between appropriate PCM harness connector terminal and DLC terminal No. 2. See POWERTRAIN CONTROL MODULE SERIAL DATA CIRCUIT IDENTIFICATION  . See Figure , Fig 2 and Fig 3 . If Purple is okay, go to step  21 . If Purple wire is not okay, repair as necessary. After repair, go to step  23 .
  15. Turn ignition switch to OFF position. Move jumper wire from PCM connector to Passlock(tm) module harness connector terminal B4 (Purple wire) (domestic models) or Vehicle Immobilizer Module (VIM) (export models) harness connector terminal "C" and connect a second jumper wire between DLC terminal No. 2 and VIM harness connector terminal "D". See Figure , Figure and Fig 4 . Turn ignition switch to RUN position. Attempt to communicate with Passlock(tm) module or VIM. If scan tool does not communicate with Passlock(tm) module or VIM, go to next step. If scan tool communicates with Passlock(tm) module or VIM, go to step  17 .
    Fig 4: Identifying Vehicle Immobilizer Module Harness Connector Terminals
    G00062252Courtesy of GENERAL MOTORS CORP.
  16. Turn ignition switch to OFF position. Disconnect Passlock(tm) module 16-pin harness connector (domestic models) or VIM 16-pin harness connector (export models). Check for short to ground or voltage in Purple wire (class 2 serial data circuit) between DLC terminal No. 2 and Passlock(tm) module harness connector terminal B4 or VIM module harness connector terminals "C" and "D". See Figure , Figure and Fig 4 . If Purple wire is okay, go to step  21 . If Purple wire is not okay, repair as necessary. After repair, go to step  23 .
  17. Turn ignition switch to OFF position. Move jumper wire from Passlock(tm) module or VIM to Electronic Brake Control Module (EBCM) terminal "G" (Purple wire). Turn ignition switch to RUN position. Attempt to communicate with EBCM. If scan tool does not communicate with EBCM, go to next step. If scan tool communicates with EBCM, go to step  19 .
  18. Turn ignition switch to OFF position. Disconnect EBCM 10-pin harness connector C1. Check for short to ground or voltage in Purple wire (class 2 serial data circuit) between DLC terminal No. 2 and EBCM harness connector C1 terminal "G". Turn ignition switch to RUN position when testing for short to voltage. See Figure and Fig 5 . If circuit is okay, go to step  21 . If circuit is not okay, repair as necessary. After repair, go to step  23 .
    Fig 5: Identifying Electronic Brake Control Module Harness Connector C1 Terminals
    G00062253Courtesy of GENERAL MOTORS CORP.
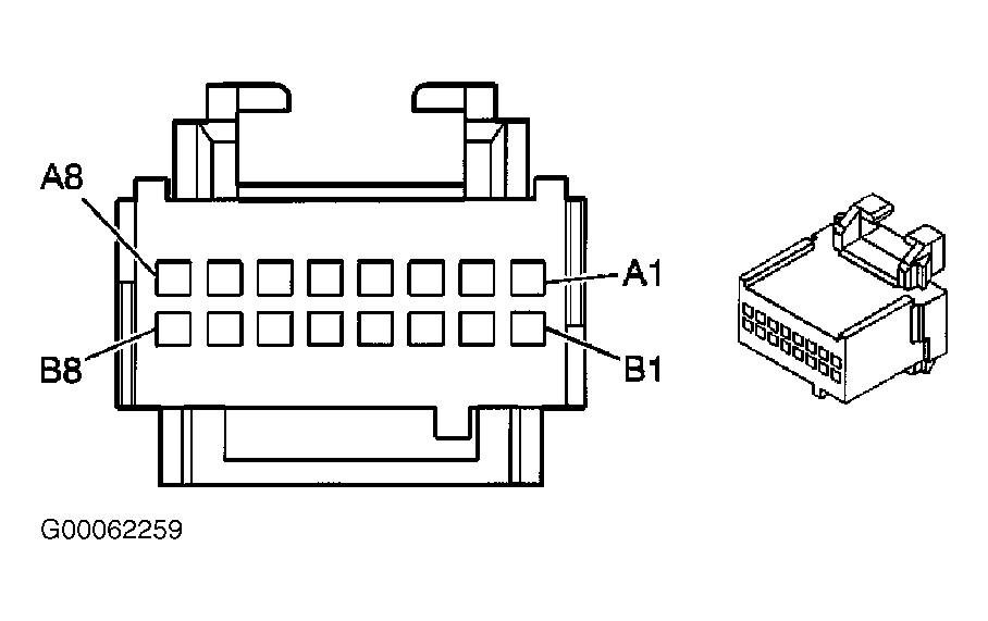
  19. Turn ignition switch to OFF position. Move jumper wire from EBCM to Inflatable Restraint (IR) Sensing and Diagnostic Module (SDM) harness connector terminal A4 (Purple wire). See Figure and Fig 6 . Turn ignition switch to RUN position. Attempt to communicate with SDM. If scan tool does not communicate with SDM, go to next step. If scan tool communicates with SDM, go to step  21 . On vehicles without 6.5L diesel engines, check for continuity between PCM harness connector C1 terminals No. 58 and 59 (both Purple wires). If continuity does not exist, replace PCM.
  20. Turn ignition switch to OFF position. Disconnect SDM Yellow 34-pin harness connector. Check for short to ground or voltage in Purple wire (class 2 serial data circuit) between DLC terminal No. 2 and SDM harness connector C1 terminal A4. See Figure and Fig 6 . If circuit is okay, go to next step. If circuit is not okay, repair as necessary. After repair, go to step  23 .
    Fig 6: Identifying Inflatable Restraint Sensing & Diagnostic Module Harness Connector Terminals
    G00062254Courtesy of GENERAL MOTORS CORP.
  21. Check non-communicating module connector for intermittent or poor terminal contact. If terminal contact is okay, go to next step. If terminal contact is not okay, repair as necessary. After repair, go to step  23 .
  22. Replace non-communicating module. After repair, go to next step.
  23. Reconnect all harness connectors. Connect scan tool to DLC. Turn ignition switch to RUN position. Wait 10 seconds. Scan tool may require a power up reset due to a short in class 2 serial data circuit before communication will occur. Turn ignition off and disconnect scan tool. Reconnect scan tool and turn ignition switch to RUN position. Display DTCs for each module. Record DTC(s) and DTC status. If any current DTCs which begin with a "U" exist, go to step  25 . If no current DTCs which begin with a "U" exist, go to next step.
  24. If any DTCs were retrieved which did not begin with a "U", go to next step. If no DTCs were retrieved which did not begin with a "U", go to step  27 .
  25. Perform appropriate diagnostic procedure for existing DTC(s). See DIAGNOSTIC TROUBLE CODE DEFINITIONS  . After repair, go to next step.
  26. If all DTCs have been diagnosed, go to next step. If any DTCs have not been diagnosed, go to step  25 .
  27. Using scan tool, clear DTCs. Verify scan tool communicates with all modules on class 2 serial data circuit.