LEMON Manuals: Even more car manuals for everyone: 1960-2025
Home >> Infiniti >> 2004 >> QX56 RWD >> Repair and Diagnosis >> Transmission >> Automatic Trans >> Automatic Transmission >> A/T Control System >> Engine Brake Control
April 5, 2026: LEMON Manuals is launched! Read the announcement.

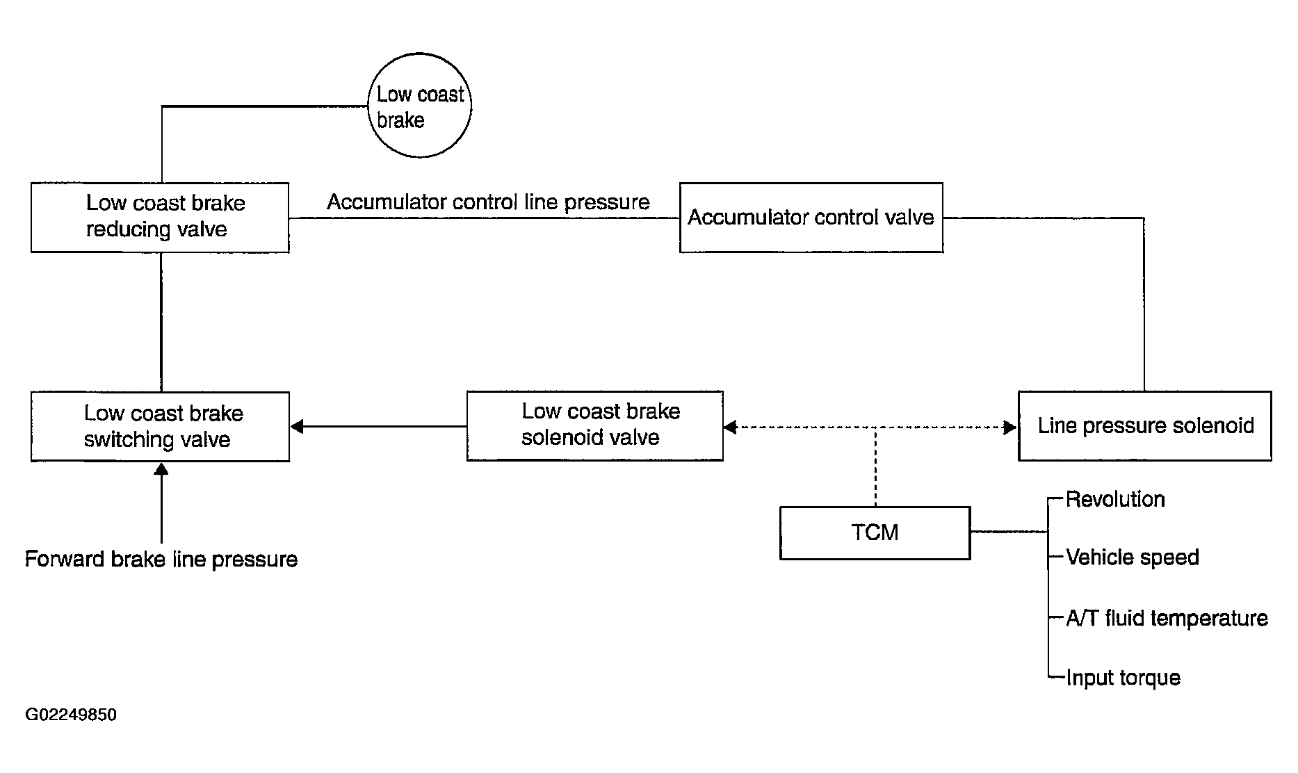
Engine Brake Control