LEMON Manuals: Even more car manuals for everyone: 1960-2025
Home >> Infiniti >> 2006 >> G35 x >> Repair and Diagnosis (Single Page) >> Transmission >> Automatic Transmission (Sedan) >> Shift Control System >> Control Rod Removal and Installation >> Control Rod Components (2WD Models)
April 5, 2026: LEMON Manuals is launched! Read the announcement.

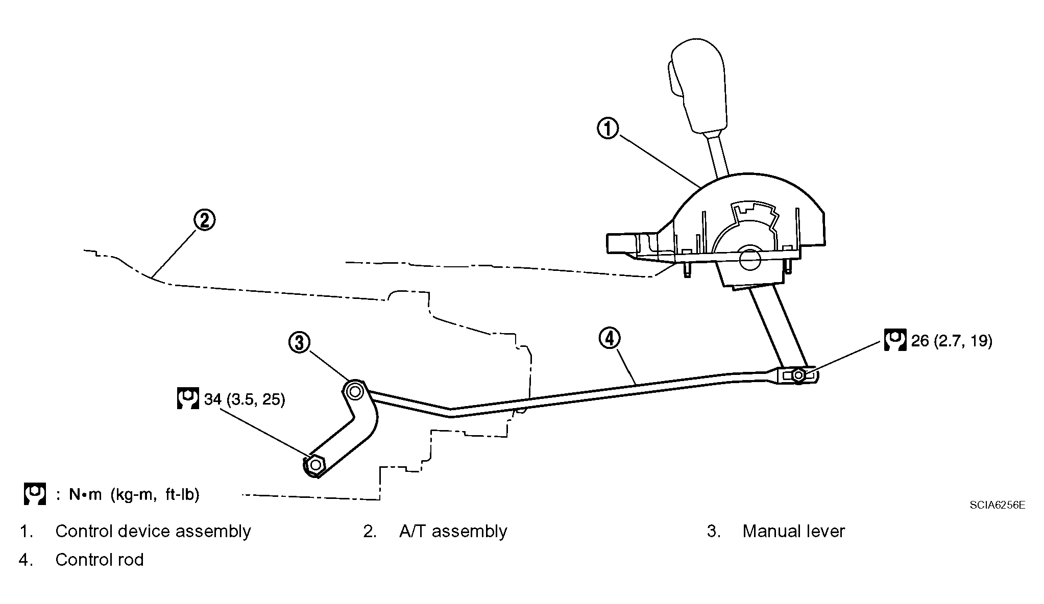
Control Rod Components (2WD Models)

Fig 1: Control Rod Replacement Components With Torque Specifications (2WD Models)
G04120795Courtesy of NISSAN MOTOR CO., U.S.A.