LEMON Manuals: Even more car manuals for everyone: 1960-2025
Home >> Infiniti >> 2006 >> M35 Base >> Repair and Diagnosis >> Body & Frame >> Door Locks >> Body, Lock & Security System >> Intelligent Key System/Engine Start Function >> DTC B2551: Steering Lock Unit >> Diagnostic Procedure
April 5, 2026: LEMON Manuals is launched! Read the announcement.

Diagnostic Procedure

  1. CHECK STEERING LOCK SIGNAL 

    Check voltage between power distribution unit connector and ground.

    VOLTAGE SPECIFICATIONS

    Terminals Condition Voltage (V) (Approx.)
    (+) (-)
    Power distribution unit connector Terminal
    M30 6 Ground When turn ignition switch to START with Intelligent Key in the car Battery voltage
    7
    6 When turn ignition switch to OFF (steering lock operates) Battery voltage --> 0 --> Battery voltage
    7
    Fig 1: Checking Voltage Between Power Distribution Unit Connector And Ground
    G04145320Courtesy of NISSAN MOTOR CO., U.S.A.

    OK or NG 

    OK: GO TO 2.

    NG: GO TO  4.

  2. CHECK POWER DISTRIBUTION UNIT POWER SUPPLY" 

    Check voltage between power distribution unit connector and ground.

    VOLTAGE SPECIFICATIONS

    Terminals Condition Voltage (V) (Approx.)
    (+) (-)
    Power distribution unit connector Terminal
    M30 3 Ground When turn ignition switch to OFF (steering lock operates) Battery voltage --> 0 --> Battery voltage
    Ignition switch OFF 0
    Fig 2: Checking Voltage Between Power Distribution Unit Connector And Ground
    G04145321Courtesy of NISSAN MOTOR CO., U.S.A.

    OK or NG 

    OK: GO TO 3.

    NG: Check if "B2558 PDU" is displayed on self-diagnosis results. If it is displayed, first perform the diagnosis.

  3. CHECK POWER SUPPLY CIRCUIT 
    1. Turn ignition switch OFF.
    2. Disconnect power distribution unit and steering lock unit connector.
    3. Check continuity between power distribution unit connector and steering lock unit connector.
      CONTINUITY CONDITIONS

      A B Continuity
      Power distribution unit connector Terminal Steering lock unit connector Terminal
      M30 3 M35 1 Yes
    4. Check continuity between power distribution unit connector and ground.
      CONTINUITY CONDITIONS

      A Ground Continuity
      Power distribution unit connector Terminal
      M30 3 No
    Fig 3: Checking Continuity Between Power Distribution Unit Connector And Steering Lock Unit Connector
    G04145322Courtesy of NISSAN MOTOR CO., U.S.A.

    OK or NG 

    OK: GO TO 5.

    NG: Repair or replace harness.

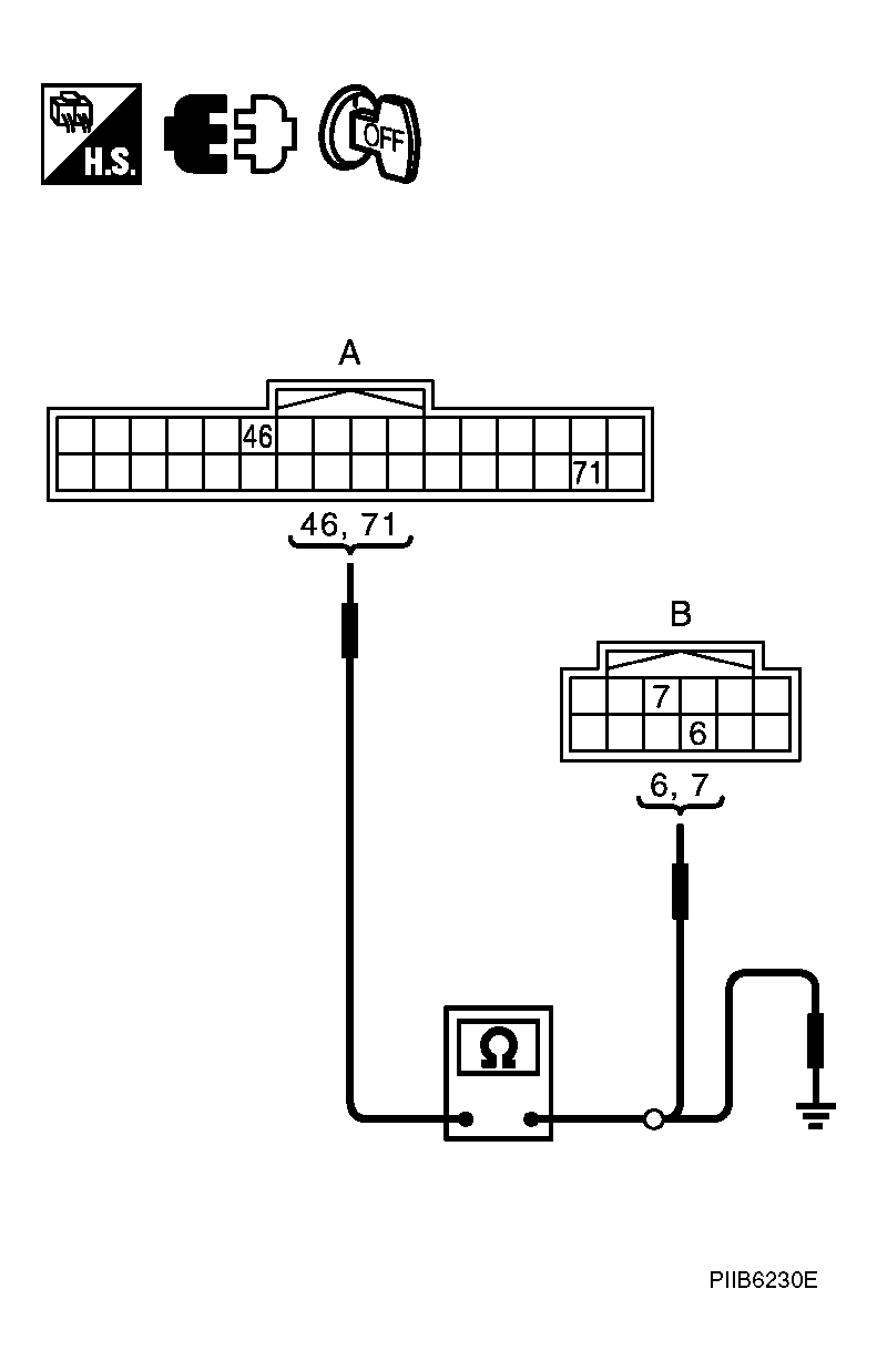
  4. CHECK COMMUNICATION CIRCUIT 1 
    1. Turn ignition switch OFF.
    2. Disconnect Intelligent Key unit and power distribution unit connector.
    3. Check continuity between Intelligent Key unit connector and power distribution unit connector.
      CONTINUITY CONDITIONS

      A B Continuity
      Intelligent Key unit connector Terminal Power distribution unit connector Terminal
      M33 46 M30 6 Yes
      71 7
    4. Check continuity between Intelligent Key unit connector and ground.
      CONTINUITY CONDITIONS

      A Ground Continuity
      Intelligent Key unit connector Terminal
      M33 46 No
      71
      Fig 4: Checking Communication Circuit 1
      G04145323Courtesy of NISSAN MOTOR CO., U.S.A.

    OK or NG 

    OK: Check the condition of harness and connector.

    NG: Repair or replace harness.

  5. CHECK SIGNAL CIRCUIT 
    1. Connect steering lock unit and power distribution unit connector.
    2. Check continuity between steering lock unit connector and ground.
      VOLTAGE SPECIFICATIONS

      Terminals Condition Voltage (V) (Approx.)
      (+) (-)
      Steering lock unit connector Terminal
      M35 3 Ground When turn ignition switch to START with Intelligent Key in the car Battery voltage
      8 0
      3 Ignition switch: OFF 0
      8 Battery voltage
      Fig 5: Checking Voltage Between Steering Lock Unit Connector And Ground
      G04145324Courtesy of NISSAN MOTOR CO., U.S.A.

    OK or NG 

    OK: Replace steering lock unit.

    NG: GO TO 6.

  6. CHECK COMMUNICATION CIRCUIT 2 
    1. Turn ignition switch OFF.
    2. Disconnect Intelligent Key unit and steering lock unit connector.
    3. Check continuity between Intelligent Key unit connector and steering lock unit connector.
      CONTINUITY CONDITIONS

      A B Continuity
      Intelligent Key unit connector Terminal Steering lock unit connector Terminal
      M32 17 M35 3 Yes
      18 8
    4. Check continuity between Intelligent Key unit connector and ground.
      CONTINUITY CONDITIONS

      A Ground Continuity
      Intelligent Key unit connector Terminal
      M32 17 No
      18
    Fig 6: Checking Communication Circuit 2
    G04145325Courtesy of NISSAN MOTOR CO., U.S.A.

    OK or NG 

    OK: Check the condition of harness and connector. If it is OK, check the self-diagnosis results using CONSULT-II again.

    NG: Repair or replace harness.