LEMON Manuals: Even more car manuals for everyone: 1960-2025
Home >> Infiniti >> 2006 >> M35 Base >> Repair and Diagnosis >> Body & Frame >> Door Locks >> Body, Lock & Security System >> Intelligent Key System/Engine Start Function >> DTC B2557: Vehicle Speed >> Diagnostic Procedure
April 5, 2026: LEMON Manuals is launched! Read the announcement.

Diagnostic Procedure

  1. CHECK VEHICLE SPEED SIGNAL 

    Check the signal between Intelligent Key unit connector and ground.

    SIGNAL REFERENCE VALUE

    Terminals Condition Signal (Reference value)
    (+) (-)
    Intelligent Key unit connector Terminal
    M32 35 Ground Speedometer operated [When vehicle speed is Approx. 40 km/h (25MPH)]
    G04145337
    Fig 1: Checking Waveform Signal Between Terminal 35 And Ground
    G04145338Courtesy of NISSAN MOTOR CO., U.S.A.

    OK or NG 

    OK: Check the condition of harness and connector. If it is OK, check the self-diagnosis results using CONSULT-II again.

    NG: GO TO 2.

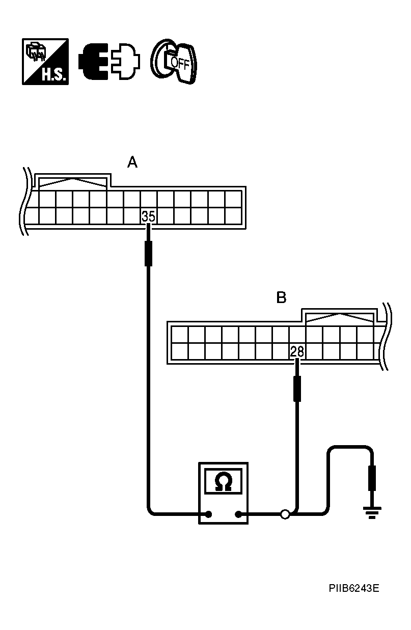
  2. CHECK HARNESS CONTINUITY 
    1. Turn ignition switch OFF.
    2. Disconnect Intelligent Key unit and unified meter and A/C amp. Connector.
    3. Check continuity between Intelligent Key unit connector and unified meter and A/C amp. Connector.
      CONTINUITY CONDITIONS

      A B Continuity
      Intelligent Key unit connector Terminal Unified meter and A/C amp. connector Terminal
      M32 35 M64 28 Yes
    4. Check continuity between Intelligent Key unit connector and ground.
      CONTINUITY CONDITIONS

      A Ground Continuity
      Intelligent Key unit connector Terminal
      M32 35 No
    Fig 2: Checking Continuity Between Intelligent Key Unit Connector And Unified Meter And A/C Amp. Connector
    G04145339Courtesy of NISSAN MOTOR CO., U.S.A.

    OK or NG 

    OK:

    • If the measured value is not waveform but 0V constant, the harness or connector between the using receiving the vehicle speed signal from unified meter and A/C amp. may be malfunctioning. Check these wirings.
    • If the measured value is not waveform but 5V or 12V constant, replace unified meter and A/C amp.

    NG: Repair or replace harness.