LEMON Manuals: Even more car manuals for everyone: 1960-2025
Home >> Infiniti >> 2006 >> QX56 RWD >> Repair and Diagnosis >> Engine Performance >> System >> Engine Control System - Introduction >> Evaporative Emission System >> Component Inspection >> EVAP Canister
April 5, 2026: LEMON Manuals is launched! Read the announcement.

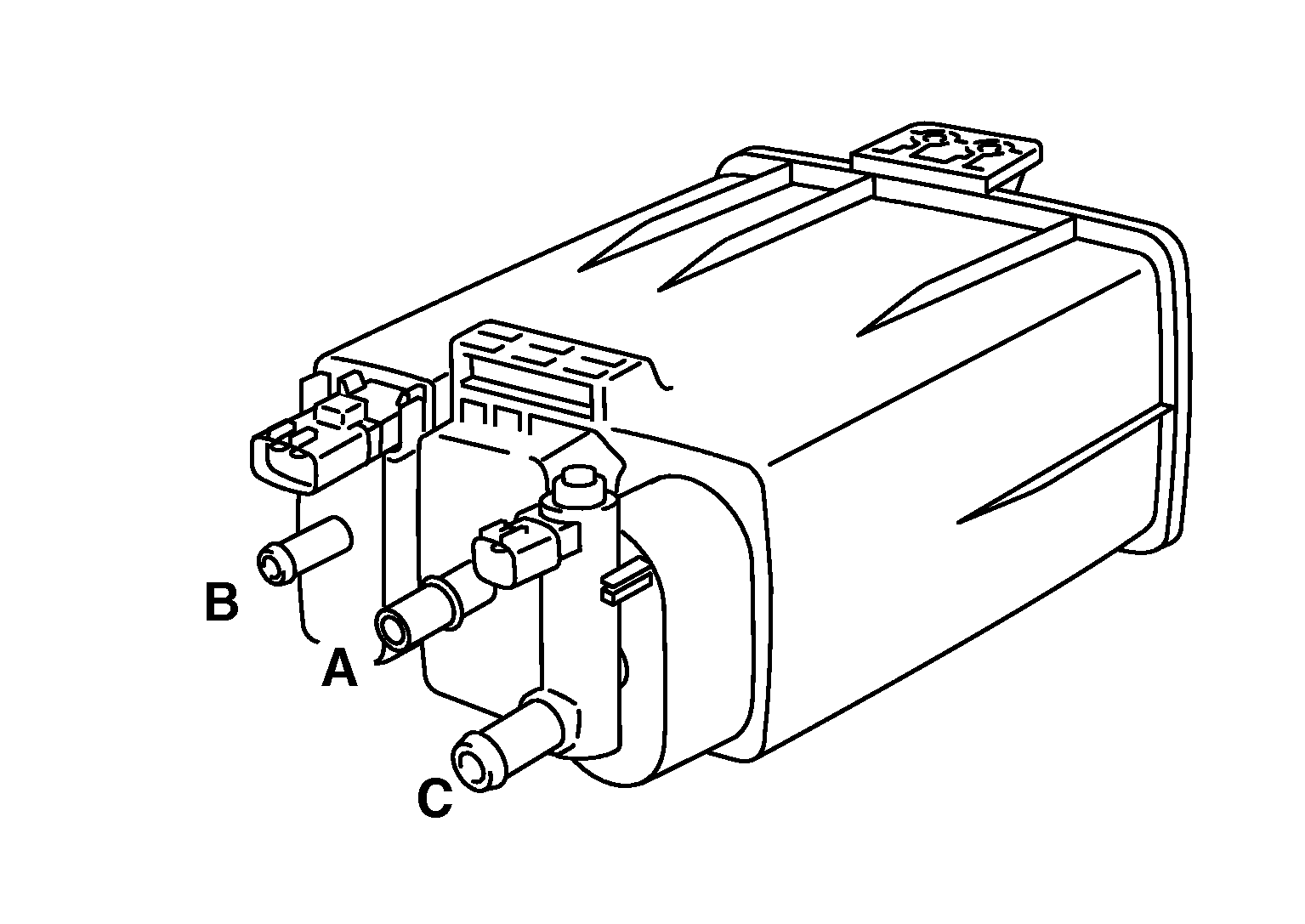
EVAP Canister

Check EVAP canister as follows:

  1. Block port .
  2. Blow air into port and check that it flows freely out of port .
  3. Release blocked port .
  4. Apply vacuum pressure to port and check that vacuum pressure exists at the ports and .
  5. Block port and .
  6. Apply pressure to port C and check that there is no leakage.
    Fig 1: Identifying EVAP Canister
    G04132519Courtesy of NISSAN MOTOR CO., U.S.A.