LEMON Manuals: Even more car manuals for everyone: 1960-2025
Home >> Infiniti >> 2007 >> FX35 AWD >> Repair and Diagnosis (Single Page) >> Transmission >> Automatic Transmission >> Shift Control System >> Control Rod Removal and Installation >> Control Rod Components
April 5, 2026: LEMON Manuals is launched! Read the announcement.

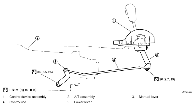
Control Rod Components

Fig 1: Control Rod Replacement Components With Torque Specifications
G05218128Courtesy of NISSAN MOTOR CO., U.S.A.