LEMON Manuals: Even more car manuals for everyone: 1960-2025
Home >> Infiniti >> 2007 >> FX35 AWD >> Repair and Diagnosis >> Engine Performance >> System >> Engine Control System (VQ35DE) - Component And System Testing >> Refrigerant Pressure Sensor >> Wiring Diagram
April 5, 2026: LEMON Manuals is launched! Read the announcement.

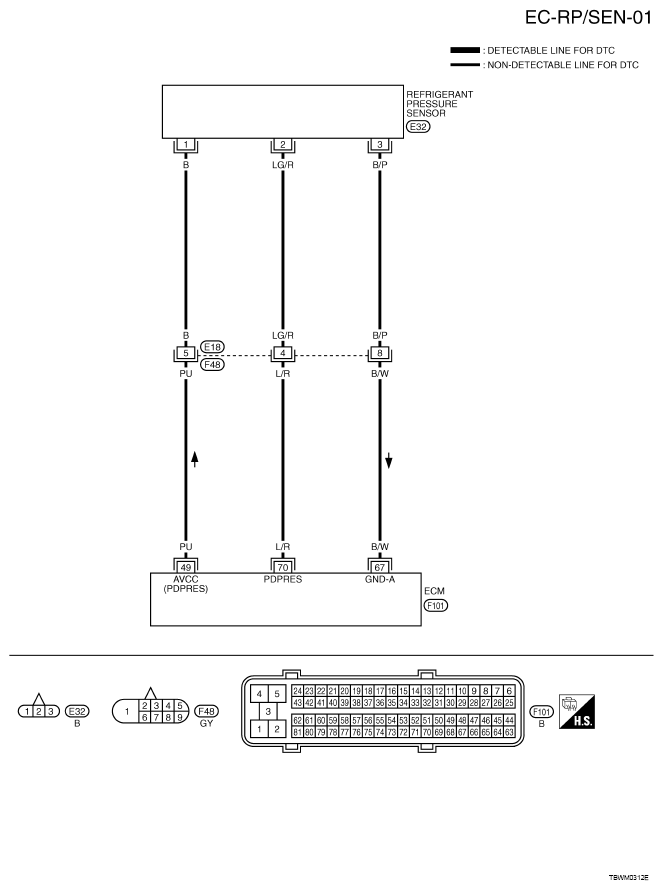
Refrigerant Pressure Sensor: Wiring Diagram

Fig 1: EC-RP/SEN-01 - Wiring Diagram
G05216978Courtesy of NISSAN NORTH AMERICA, INC.

Specification data are reference values and are measured between each terminal and ground.

CAUTION: Do not use ECM ground terminals when measuring input/output voltage. Doing so may result in damage to the ECM's transistor. Use a ground other than ECM terminals, such as the ground.
ECM INSPECTION TABLE

TERMINAL NO. WIRE COLOR ITEM CONDITION DATA (DC Voltage)
49 PU Sensor power supply (Refrigerant pressure sensor) [Ignition switch: ON]  Approximately 5V
67 B/W Sensor ground [Engine is running] 
  • Warm-up condition 
  • Idle speed
Approximately 0V
70 L/R Refrigerant pressure sensor [Engine is running] 
  • Warm-up condition 
  • Both A/C switch and blower fan switch: ON (Compressor operates)
1.0 - 4.0V