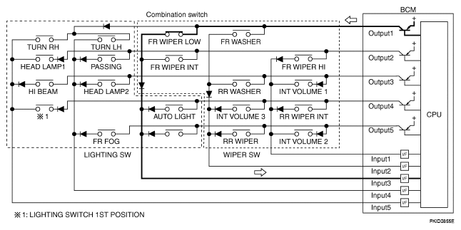
Sample Operation: (When Wiper Switch Turned to LOW Position)
- When wiper switch is turned to LOW position, front wiper LOW contact in combination switch turns ON. At this time if OUTPUT 1 transistor is activated, BCM detects that voltage changes in INPUT 3.
- When BCM detects that voltage changes in INPUT 3 while OUTPUT 1 transistor is ON, it judges that front wiper switch is in LOW position. Then BCM sends front wiper request signal (LO) to IPDM E/R using CAN communication.
- If BCM detects that voltage changes in INPUT 3 when OUTPUT 1 transistor is activated again, it recognizes that wiper switch is still in LOW position.
NOTE:
Each OUTPUT terminal transistor is activated at 10 ms intervals. Therefore after switch is turned ON, electrical loads are activated with time delay. But this time delay is so short that it cannot be detected by human senses.