LEMON Manuals: Even more car manuals for everyone: 1960-2025
Home >> Infiniti >> 2007 >> M35 x >> Repair and Diagnosis (Single Page) >> Transmission >> Transfer Case >> AWD System >> System Diagram >> Notes
April 5, 2026: LEMON Manuals is launched! Read the announcement.

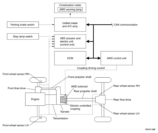
System Diagram: Notes

Fig 1: System Diagram
G05218967