LEMON Manuals: Even more car manuals for everyone: 1960-2025
Home >> Infiniti >> 2007 >> M45 >> Repair and Diagnosis (Single Page) >> Accessories & Equipment >> Anti-Theft Systems >> Body, Lock & Security System >> Intelligent Key System/Engine Start Function >> DTC B2557: Vehicle Speed >> Diagnostic Procedure
April 5, 2026: LEMON Manuals is launched! Read the announcement.

Diagnostic Procedure

  1. CHECK VEHICLE SPEED SIGNAL 

    Check the signal between Intelligent Key unit connector and ground.

    SIGNAL REFERENCE VALUE CHART

    Terminals Condition Signal (Reference value)
    (+) (-)
    Intelligent Key unit connector Terminal
    M32 35 Ground Speed meter operated [When vehicle speed is Approx. 40 km/h (25MPH)]
    G04877479
    Fig 1: Checking Signal Between Intelligent Key Unit Connector Terminal 35 And Ground
    G05212337

    OK or NG 

    OK: Check the condition of harness and connector. If it is OK, check the self-diagnosis results using CONSULT-II again.

    NG: GO TO 2.

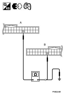
  2. CHECK HARNESS CONTINUITY 
    1. Turn ignition switch OFF.
    2. Disconnect Intelligent Key unit and unified meter and A/C amp. Connector.
    3. Check continuity between Intelligent Key unit connector and unified meter and A/C amp. Connector.
      TERMINAL CONTINUITY CHART

      A B Continuity
      Intelligent Key unit connector Terminal Unified meter and A/C amp. connector Terminal
      M32 35 M64 28 Yes
    4. Check continuity between Intelligent Key unit connector and ground.
      TERMINAL CONTINUITY CHART

      A Ground Continuity
      Intelligent Key unit connector Terminal
      M32 35 No

    OK or NG 

    OK:

    • If the measured value is not waveform but 0V constant, the harness or connector between the using receiving the vehicle speed signal from unified meter and A/C amp. may be malfunctioning. Check these wirings.
    • If the measured value is not waveform but 5V or 12V constant, replace unified meter and A/C amp.

    NG: Repair or replace harness.

    Fig 2: Checking Continuity Between Intelligent Key Unit Connector And Unified Meter And A/C Amp
    G05212338