LEMON Manuals: Even more car manuals for everyone: 1960-2025
Home >> Infiniti >> 2007 >> M45 >> Repair and Diagnosis (Single Page) >> Body & Frame >> Door Locks >> Body, Lock & Security System >> Intelligent Key System/Engine Start Function >> DTC B2551: Steering Lock Unit >> Diagnostic Procedure
April 5, 2026: LEMON Manuals is launched! Read the announcement.

Diagnostic Procedure

  1. CHECK STEERING LOCK SIGNAL 

    Check voltage between power distribution unit connector and ground.

    TERMINAL VOLTAGE CHART

    Terminals Condition Voltage (V) (Approx.)
    (+) (-)
    Power distribution unit connector Terminal
    M30 6 Ground When turn ignition switch to START with Intelligent Key in the car Battery voltage
    7
    6 When turn ignition switch to OFF (steering lock operates) Battery voltage

    0

    Battery voltage
    7
    Fig 1: Checking Voltage Between Power Distribution Unit Connector Terminals 6, 7 And Ground
    G05212319

    OK or NG 

    OK: GO TO 2.

    NG: GO TO  4.

  2. CHECK POWER DISTRIBUTION UNIT POWER SUPPLY 

    Check voltage between power distribution unit connector and ground.

    TERMINAL VOLTAGE CHART

    Terminals Condition Voltage (V) (Approx.)
    (+) (-)
    Power distribution unit connector Terminal
    M30 3 Ground When turn ignition switch to OFF (steering lock operates) Battery voltage

    0

    Battery voltage
    Ignition switch OFF 0
    Fig 2: Checking Voltage Between Power Distribution Unit Connector Terminal 3 And Ground
    G05212320

    OK or NG 

    OK: GO TO 3.

    NG: Check if "B2558 PDU" is displayed on self-diagnosis results. If it is displayed, first perform the diagnosis.

  3. CHECK POWER SUPPLY CIRCUIT 
    1. Turn ignition switch OFF.
    2. Disconnect power distribution unit and steering lock unit connector.
    3. Check continuity between power distribution unit connector and steering lock unit connector.
      TERMINAL CONTINUITY CHART

      A B Continuity
      Power distribution unit connector Terminal Steering lock unit connector Terminal
      M30 3 M35 1 Yes
    4. Check continuity between power distribution unit connector and ground.
      TERMINAL CONTINUITY CHART

      A Ground Continuity
      Power distribution unit connector Terminal
      M30 3 No
      Fig 3: Checking Continuity Between Power Distribution Unit Connector And Steering Lock Unit Connector
      G05212321

    OK or NG 

    OK: GO TO  5.

    NG: Repair or replace harness.

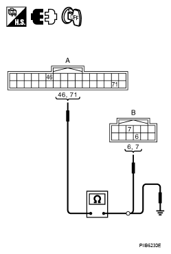
  4. CHECK COMMUNICATION CIRCUIT 1 
    1. Turn ignition switch OFF.
    2. Disconnect Intelligent Key unit and power distribution unit connector.
    3. Check continuity between Intelligent Key unit connector and power distribution unit connector.
      TERMINAL CONTINUITY CHART

      A B Continuity
      Intelligent Key unit connector Terminal Power distribution unit connector Terminal
      M33 46 M30 6 Yes
      71 7
    4. Check continuity between Intelligent Key unit connector and ground.
      TERMINAL CONTINUITY CHART

      A Ground Continuity
      Intelligent Key unit connector Terminal
      M33 46 No
      71

    OK or NG 

    OK: Check the condition of harness and connector.

    NG: Repair or replace harness.

    Fig 4: Checking Continuity Between Intelligent Key Unit Connector And Power Distribution Unit Connector
    G05212322
  5. CHECK SIGNAL CIRCUIT 
    1. Connect steering lock unit and power distribution unit connector.
    2. Check continuity between steering lock unit connector and ground.
      TERMINAL CONTINUITY CHART

      Terminals Condition Voltage (V) (Approx.)
      (+) (-)
      Steering lock unit connector Terminal
      M35 3 Ground When turn ignition switch to START with Intelligent Key in the car Battery voltage
      8 0
      3 Ignition switch: OFF 0
      8 Battery voltage
      Fig 5: Checking Continuity Between Steering Lock Unit Connector Terminals 3, 8 And Ground
      G05212323

    OK or NG 

    OK: Replace steering lock unit.

    NG: GO TO 6.

  6. CHECK COMMUNICATION CIRCUIT 2 
    1. Turn ignition switch OFF.
    2. Disconnect Intelligent Key unit and steering lock unit connector.
    3. Check continuity between Intelligent Key unit connector and steering lock unit connector.
      TERMINAL CONTINUITY CHART

      A B Continuity
      Intelligent Key unit connector Terminal Steering lock unit connector Terminal
      M33 69 M35 3 Yes
      70 8
    4. Check continuity between Intelligent Key unit connector and ground.
      TERMINAL CONTINUITY CHART

      A Ground Continuity
      Intelligent Key unit connector Terminal
      M33 69 No
      70
      Fig 6: Checking Continuity Between Intelligent Key Unit Connector And Steering Lock Unit Connector
      G05212324

    OK or NG 

    OK: Check the condition of harness and connector. If it is OK, check the self-diagnosis results using CONSULT-II again.

    NG: Repair or replace harness.