LEMON Manuals: Even more car manuals for everyone: 1960-2025
Home >> Infiniti >> 2007 >> QX56 AWD >> Repair and Diagnosis >> Steering >> Power Steering System >> Service Data And Specifications (SDS) >> Steering Column >> Inspection After Assembly
April 5, 2026: LEMON Manuals is launched! Read the announcement.

Inspection After Assembly

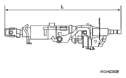
STEERING COLUMN SERVICE DATA AND SPECIFICATIONS

Unit: mm (in)
G04902309
Steering column length "L" 610 (24.02)