LEMON Manuals: Even more car manuals for everyone: 1960-2025
Home >> Infiniti >> 2013 >> EX37 Base, AWD >> Repair and Diagnosis (Single Page) >> Electrical >> Body Electrical >> Power Control System (IPDM/Er) >> System Description >> Relay Control System >> System Diagram
April 5, 2026: LEMON Manuals is launched! Read the announcement.

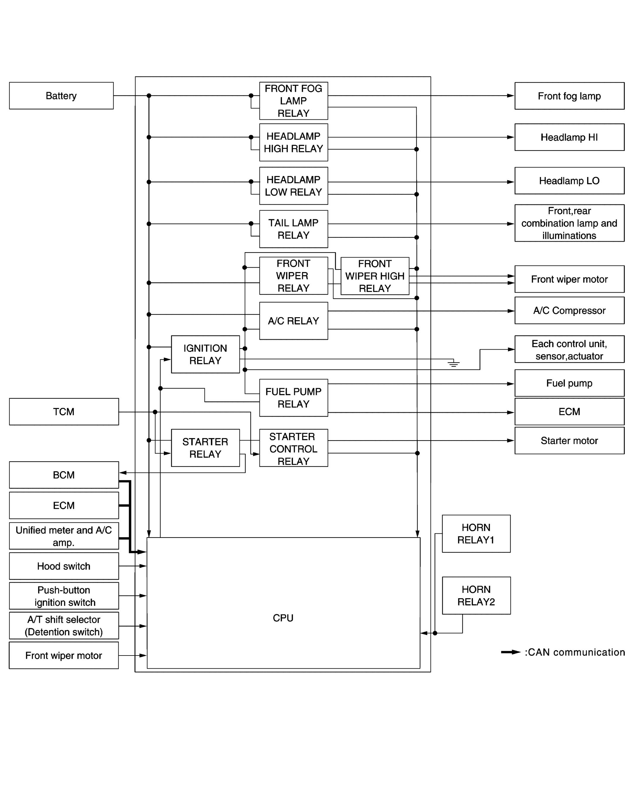
System Diagram

Fig 1: Relay Control System Diagram
G08198611Courtesy of NISSAN DIESEL MOTOR CO., LTD.