LEMON Manuals: Even more car manuals for everyone: 1960-2025
Home >> Infiniti >> 2013 >> EX37 Base, AWD >> Repair and Diagnosis >> Transmission >> Automatic Transmission >> Unit Disassembly And Assembly >> Transmission Assembly >> Disassembly
April 5, 2026: LEMON Manuals is launched! Read the announcement.

Transmission Assembly: Disassembly

CAUTION: Never disassemble parts behind drum support. Refer to "CROSS-SECTIONAL VIEW ".
  1. Drain ATF through drain plug.
  2. Remove torque converter by holding it firmly and turning while pulling straight out.
    Fig 1: Removing Torque Converter
    G04876017Courtesy of NISSAN NORTH AMERICA, INC.
  3. Remove tightening bolts (<==) for converter housing and transmission case.
  4. Remove converter housing from transmission case.
    CAUTION: Be careful not to scratch converter housing.
    Fig 2: Locating Bolts
    G07013604Courtesy of NISSAN NORTH AMERICA, INC.
  5. Remove O-ring from input clutch assembly.
    Fig 3: Identifying O-Ring And Input Clutch Assembly
    G04876020Courtesy of NISSAN NORTH AMERICA, INC.
  6. Remove tightening bolts (<==) for oil pump assembly and transmission case.
    Fig 4: Locating Oil Pump Assembly Bolts
    G07013606Courtesy of NISSAN NORTH AMERICA, INC.
  7. Attach the sliding hammers [SST: ST25850000 (J-25721-A)] (A) to oil pump assembly (1) and extract it evenly from transmission case.
    Fig 5: Connecting Sliding Hammers To Oil Pump Assembly
    G08992576Courtesy of NISSAN NORTH AMERICA, INC.
    CAUTION:
    • Fully tighten the sliding hammer screws.
    • Make sure that bearing race is installed to the oil pump assembly edge surface.
  8. Remove O-ring (1) from oil pump assembly.
    Fig 6: Identifying Oil Pump Assembly And O-Ring
    G07023136Courtesy of NISSAN NORTH AMERICA, INC.
  9. Remove bearing race (1) from oil pump assembly.
    Fig 7: Identifying Oil Pump Assembly Bearing Race
    G07016105Courtesy of NISSAN NORTH AMERICA, INC.
  10. Remove seal ring (1) from oil pump assembly.
    Fig 8: Identifying Oil Pump Assembly Seal Ring
    G07016106Courtesy of NISSAN NORTH AMERICA, INC.
  11. Remove under drive sun gear (1) from under drive carrier assembly.
    Fig 9: Identifying Under Drive Sun Gear
    G07016107Courtesy of NISSAN NORTH AMERICA, INC.
  12. Remove needle bearing (1) from under drive sun gear.
    Fig 10: Removing Needle Bearing From Under Drive Sun Gear
    G07016108Courtesy of NISSAN NORTH AMERICA, INC.
  13. Remove needle bearing (1) from under drive carrier assembly.
    Fig 11: Identifying Under Drive Carrier Assembly Needle Bearing
    G07016109Courtesy of NISSAN NORTH AMERICA, INC.
  14. Remove front brake component part (retaining plates, drive plates and driven plate) from transmission case by using a wire (A) with its tip bent like a hook.
    Fig 12: Removing Front Brake Component Part (Retaining Plates, Drive Plates And Driven Plate) From Transmission Case Using Wire
    G07016110Courtesy of NISSAN NORTH AMERICA, INC.
  15. Remove snap ring (1) from transmission case using a flat-bladed screwdriver.
    CAUTION:
    • Be careful not to scratch transmission case and 1st one-way clutch.
    • Be careful not to damage snap ring.
    Fig 13: Identifying Transmission Case Snap Ring
    G07016111Courtesy of NISSAN NORTH AMERICA, INC.
  16. Remove input clutch assembly (with 1st one-way clutch, under drive carrier assembly, front brake hub, front carrier assembly, and rear internal gear) (1) from transmission case.
    Fig 14: Removing Input Clutch Assembly From Transmission Case
    G07016112Courtesy of NISSAN NORTH AMERICA, INC.
  17. Remove 1st one-way clutch (1) from front brake hub.
    Fig 15: Removing 1st One-Way Clutch From Front Brake Hub
    G07016113Courtesy of NISSAN NORTH AMERICA, INC.
  18. Remove under drive carrier assembly (with front brake hub) (1) from front carrier assembly.
    Fig 16: Removing Under Drive Carrier Assembly (With Front Brake Hub) From Front Carrier Assembly
    G07016114Courtesy of NISSAN NORTH AMERICA, INC.
  19. Remove needle bearing (1) from front carrier assembly.
    Fig 17: Identifying Front Carrier Assembly Needle Bearing
    G07016115Courtesy of NISSAN NORTH AMERICA, INC.
  20. Remove seal rings (1) from input clutch assembly.
    Fig 18: Removing Seal Rings From Input Clutch Assembly
    G07023148Courtesy of NISSAN NORTH AMERICA, INC.
  21. Remove mid carrier assembly and rear carrier assembly as a unit.
    Fig 19: Identifying Mid Carrier Assembly And Rear Carrier Assembly Unit
    G04876032Courtesy of NISSAN NORTH AMERICA, INC.
  22. Remove mid carrier assembly from rear carrier assembly.
    Fig 20: Removing Mid Carrier Assembly From Rear Carrier Assembly
    G04876033Courtesy of NISSAN NORTH AMERICA, INC.
  23. Remove needle bearing (front side) from mid carrier assembly.
    Fig 21: Removing Needle Bearing (Front Side) From Mid Carrier Assembly
    G04876034Courtesy of NISSAN NORTH AMERICA, INC.
  24. Remove needle bearing (rear side) from mid carrier assembly.
    Fig 22: Removing Needle Bearing (Rear Side) From Mid Carrier Assembly
    G04876035Courtesy of NISSAN NORTH AMERICA, INC.
  25. Remove bearing race from rear carrier assembly.
    Fig 23: Removing Bearing Race To Rear Carrier Assembly
    G04876036Courtesy of NISSAN NORTH AMERICA, INC.
  26. Remove needle bearing from rear carrier assembly.
    Fig 24: Removing Needle Bearing From Rear Carrier Assembly
    G04876037Courtesy of NISSAN NORTH AMERICA, INC.
  27. Remove mid sun gear assembly, rear sun gear assembly, and high and low reverse clutch hub as a unit.
    CAUTION: Be careful to remove then with bearing race and needle bearing.
    Fig 25: Identifying Mid Sun Gear Assembly And Rear Sun Gear Assembly
    G04876038Courtesy of NISSAN NORTH AMERICA, INC.
  28. Remove high and low reverse clutch assembly from direct clutch assembly.
    CAUTION: Make sure that needle bearing is installed to the high and low reverse clutch assembly edge surface.
    Fig 26: Identifying High And Low Reverse Clutch Assembly
    G04876039Courtesy of NISSAN NORTH AMERICA, INC.
  29. Remove direct clutch assembly from reverse brake.
    Fig 27: Identifying Direct Clutch Assembly From Reverse Brake
    G04876040Courtesy of NISSAN NORTH AMERICA, INC.
  30. Remove needle bearing from drum support.
    Fig 28: Identifying Needle Bearing From Drum Support
    G04876041Courtesy of NISSAN NORTH AMERICA, INC.
  31. Remove snap ring (1) from joint connector (A).
    Fig 29: Removing Snap Ring From Joint Connector
    G05218604Courtesy of NISSAN NORTH AMERICA, INC.
  32. Push joint connector (A).
    CAUTION: Be careful not to damage connector.
    Fig 30: Pushing Joint Connector
    G05218605Courtesy of NISSAN NORTH AMERICA, INC.
  33. Remove oil pan mounting bolts (<==).
    Fig 31: Locating Oil Pan Mounting Bolts
    G08992602Courtesy of NISSAN NORTH AMERICA, INC.
  34. Remove oil pan (2) and oil pan gasket.
  35. Remove magnets (1) from oil pan.
    Fig 32: Identifying Oil Pan Magnets
    G05218607Courtesy of NISSAN NORTH AMERICA, INC.
  36. Disconnect output speed sensor connector (A).
    CAUTION: Be careful not to damage connector.
  37. Disengage terminal clips (<==).
    Fig 33: Locating Output Speed Sensor Terminal Clip
    G07013520Courtesy of NISSAN NORTH AMERICA, INC.
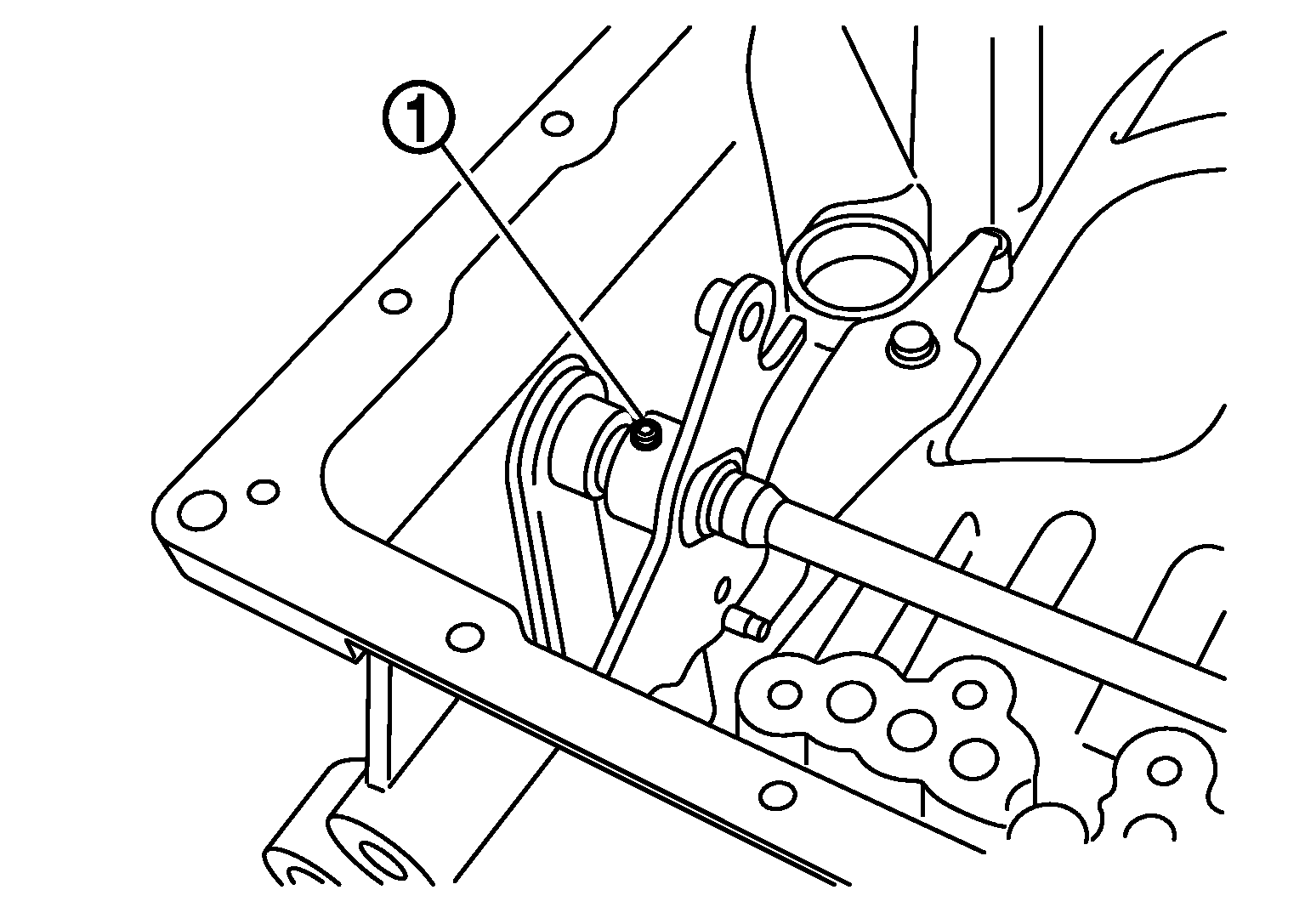
  38. Remove control valve & TCM mounting bolts and clip (1) from the control valve & TCM.
    Fig 34: Identifying Control Valve And TCM Mounting Bolts And Clip
    G08992605Courtesy of NISSAN NORTH AMERICA, INC.
    Bolt symbol Length mm (in) Number of bolts
    A 43 (1.69) 3
    B 40 (1.57) 2
    C 54 (2.13) 6
    D 50 (1.97) 2
    E(1) 50 (1.97) 1
    (1) Reamer bolt
  39. Remove the control valve & TCM (1) from transmission case.
    CAUTION: When removing, never with the manual valve notch and manual plate height. Remove it vertically.
    Fig 35: Removing Control Valve TCM From Transmission Case
    G07016133Courtesy of NISSAN NORTH AMERICA, INC.
  40. Remove joint connector (1) from the control valve & TCM using a flat-bladed screwdriver (A).
    Fig 36: Removing Joint Connector From Control Valve And TCM Using Flat-Bladed Screwdriver
    G07016134Courtesy of NISSAN NORTH AMERICA, INC.
  41. Disconnect TCM connector (A).
    CAUTION: Be careful not to damage connector.
    Fig 37: Identifying TCM Connector
    G07016135Courtesy of NISSAN NORTH AMERICA, INC.
  42. Remove rear extension assembly (2WD) or adapter case assembly (AWD) according to the following procedures.
    1. 2WD 
      1. Remove tightening bolts for rear extension assembly and transmission case.
        Fig 38: Identifying Rear Extension Assembly And Transmission Case Bolts
        G08992609Courtesy of NISSAN NORTH AMERICA, INC.
      2. Tap rear extension assembly using a soft hammer.
        CAUTION: Be careful not to damage rear extension.
        Fig 39: Tapping Rear Extension Assembly Using Soft Hammer
        G04876059Courtesy of NISSAN NORTH AMERICA, INC.
      3. Remove rear extension assembly from transmission case. (With needle bearing.)
        Fig 40: Removing Rear Extension Assembly From Transmission Case
        G04876060Courtesy of NISSAN NORTH AMERICA, INC.
      4. Remove bearing race from output shaft.
        Fig 41: Removing Bearing Race From Output Shaft
        G04875958Courtesy of NISSAN NORTH AMERICA, INC.
      5. Remove output shaft from transmission case by rotating left/right.
        Fig 42: Removing Output Shaft From Transmission Case
        G04876062Courtesy of NISSAN NORTH AMERICA, INC.
      6. Remove parking gear (1) from output shaft (2).
        Fig 43: Removing Parking Gear From Output Shaft
        G05218658Courtesy of NISSAN NORTH AMERICA, INC.
      7. Remove seal rings (1) from output shaft.
        Fig 44: Identifying Output Shaft Seal Rings
        G07023069Courtesy of NISSAN NORTH AMERICA, INC.
    2. AWD 
      1. Remove tightening bolts for adapter case assembly and transmission case.
        Fig 45: Identifying Adapter Case Assembly Bracket, Bolt, Self-Sealing Bolt
        G08992616Courtesy of NISSAN NORTH AMERICA, INC.
      2. Tap adapter case assembly using a soft hammer.
        CAUTION: Be careful not to damage adapter case.
        Fig 46: Tapping Adapter Case Assembly Using Hammer
        G04898167Courtesy of NISSAN NORTH AMERICA, INC.
      3. Remove adapter case assembly from transmission case. (With needle bearing)
        Fig 47: Removing Adapter Case Assembly From Transmission Case
        G04898168Courtesy of NISSAN NORTH AMERICA, INC.
      4. Remove bearing race from output shaft.
        Fig 48: Removing Bearing Race From Output Shaft
        G04875958Courtesy of NISSAN NORTH AMERICA, INC.
      5. Remove output shaft from transmission case by rotating left/right.
        Fig 49: Removing Output Shaft From Transmission Case
        G04876062Courtesy of NISSAN NORTH AMERICA, INC.
      6. Remove gasket from transmission case.
        Fig 50: Removing Gasket From Transmission Case
        G04901220Courtesy of NISSAN NORTH AMERICA, INC.
      7. Remove parking gear (1) from output shaft (2).
        Fig 51: Removing Parking Gear From Output Shaft
        G05218658Courtesy of NISSAN NORTH AMERICA, INC.
      8. Remove seal rings (1) from output shaft.
        Fig 52: Identifying Output Shaft Seal Rings
        G07023069Courtesy of NISSAN NORTH AMERICA, INC.
  43. Remove needle bearing from transmission case.
    Fig 53: Identifying Transmission Case Needle Bearing
    G04876065Courtesy of NISSAN NORTH AMERICA, INC.
  44. Remove output speed sensor (1) from transmission case.
    Fig 54: Locating Output Speed Sensor Bolts
    G08992625Courtesy of NISSAN NORTH AMERICA, INC.
    CAUTION:
    • Never subject it to impact by dropping or hitting it.
    • Never disassemble.
    • Never allow metal filings, etc. to get on the sensor's front edge magnetic area.
    • Never place in an area affected by magnetism.
  45. Remove reverse brake snap ring (fixing plate) with 2 flat-bladed screwdrivers.
    CAUTION:
    • Be careful not to scratch transmission case and reverse brake retaining plate.
    • Be careful not to damage snap ring.
    NOTE: Press out snap ring from the transmission case oil pan side gap with a flat-bladed screwdriver, and remove it using a another screwdriver.
  46. Remove reverse brake retaining plate from transmission case.
    Fig 55: Removing Reverse Brake Retaining Plate From Transmission Case Flat-Bladed Screwdriver
    G04876067Courtesy of NISSAN NORTH AMERICA, INC.
  47. Remove N-spring from transmission case.
    Fig 56: Identifying N-Spring, Transmission Case Drive And Driven Plate
    G04876068Courtesy of NISSAN NORTH AMERICA, INC.
  48. Remove reverse brake component part (drive plates, driven plates and dish plates) from transmission case.
    Fig 57: Removing Reverse Brake Component Part (Drive Plates, Driven Plates And Dish Plates) From Transmission Case
    G04876069Courtesy of NISSAN NORTH AMERICA, INC.
  49. Remove snap ring (fixing spring retainer) using a flat-bladed screwdriver.
    CAUTION:
    • Be careful not to scratch transmission case and spring retainer.
    • Be careful not to damage snap ring.
    Fig 58: Identifying Snap Ring (Fixing Spring Retainer)
    G04876070Courtesy of NISSAN NORTH AMERICA, INC.
  50. Remove reverse brake spring retainer and reverse brake return spring from transmission case.
    Fig 59: Identifying Reverse Brake Spring Retainer
    G04876071Courtesy of NISSAN NORTH AMERICA, INC.
  51. Remove seal rings from drum support.
    Fig 60: Identifying Seal Rings
    G04876072Courtesy of NISSAN NORTH AMERICA, INC.
  52. Remove needle bearing from drum support edge surface.
    Fig 61: Identifying Drum Support Edge Surface Needle Bearing
    G04876073Courtesy of NISSAN NORTH AMERICA, INC.
  53. Remove reverse brake piston (1) from transmission case with compressed air. Refer to "OIL CHANNEL ".
    Fig 62: Removing Reverse Brake Piston From Transmission Case Using Compressed Air
    G08992633Courtesy of NISSAN NORTH AMERICA, INC.
    CAUTION: Care should be taken not to abruptly blow air. It makes pistons incline, as the result, it becomes hard to disassemble the pistons.
  54. Remove D-rings from reverse brake piston.
    Fig 63: Identifying Reverse Brake Piston D-Rings
    G04876075Courtesy of NISSAN NORTH AMERICA, INC.
  55. Remove retaining pin with pair of nippers.
    CAUTION: Be careful not to cut retaining pin.
    Fig 64: Removing Retaining Pin Using Pair Of Nippers
    G04876077Courtesy of NISSAN NORTH AMERICA, INC.
  56. Remove manual plate (1) from detent spring (2).
  57. Remove parking rod (3) from manual plate.
  58. Install manual plate to detent spring.
    Fig 65: Identifying Manual Plate, Detent Spring And Parking Rod
    G07013610Courtesy of NISSAN NORTH AMERICA, INC.
  59. Use a pin punch [4 mm (0.16 in) dia. commercial service tool] to knock out retaining pin (1).
    Fig 66: Knocking Out Retaining Pin Using Pin Punch
    G07013611Courtesy of NISSAN NORTH AMERICA, INC.
  60. Remove manual plate from manual shaft.
    Fig 67: Removing Manual Plate From Manual Shaft
    G04876078Courtesy of NISSAN NORTH AMERICA, INC.
  61. Remove manual shaft from transmission case.
    Fig 68: Removing Manual Shaft
    G04876080Courtesy of NISSAN NORTH AMERICA, INC.
  62. Remove manual shaft oil seals using a flat-bladed screwdriver.
    CAUTION: Be careful not to scratch transmission case.
    Fig 69: Removing Manual Shaft Oil Seals Using Flat-Bladed Screwdriver
    G04876081Courtesy of NISSAN NORTH AMERICA, INC.
  63. Remove detent spring (1) from transmission case.
    Fig 70: Locating Detent Spring Bolts
    G08992641Courtesy of NISSAN NORTH AMERICA, INC.
  64. Remove needle bearing (1) from rear extension (2WD) or adapter case (AWD).
    Fig 71: Identifying Rear Extension Needle Bearing
    G04875973Courtesy of NISSAN NORTH AMERICA, INC.
  65. Remove parking actuator support from rear extension (2WD) or adapter case (AWD).
    Fig 72: Removing Parking Actuator Support From Rear Extension (2WD) OR Adapter Case (AWD)
    G04875963Courtesy of NISSAN NORTH AMERICA, INC.
  66. Remove parking pawl (with return spring) and pawl shaft from rear extension (2WD) or adapter case (AWD).
    Fig 73: Removing Parking Pawl (With Return Spring) And Pawl Shaft From Rear Extension (2WD) Or Adapter Case (AWD)
    G04875964Courtesy of NISSAN NORTH AMERICA, INC.
  67. Remove return spring (1) from parking pawl (2).
    Fig 74: Identifying Return Spring And Parking Pawl
    G04875965Courtesy of NISSAN NORTH AMERICA, INC.
  68. Remove rear oil seal from rear extension (B) or adapter case (C) using a flat-bladed screwdriver (A).
    Fig 75: Removing Rear Oil Seal From Rear Extension Or Adapter Case Using Flat-Bladed Screwdriver
    G08992646Courtesy of NISSAN NORTH AMERICA, INC.
    CAUTION: Be careful not to scratch rear extension (2WD) or adapter case (AWD).