LEMON Manuals: Even more car manuals for everyone: 1960-2025
Home >> Infiniti >> 2013 >> EX37 Base, AWD >> Repair and Diagnosis >> Transmission >> Transfer Case >> Unit Disassembly And Assembly >> Front Case And Rear Case >> Assembly
April 5, 2026: LEMON Manuals is launched! Read the announcement.

Front Case And Rear Case: Assembly

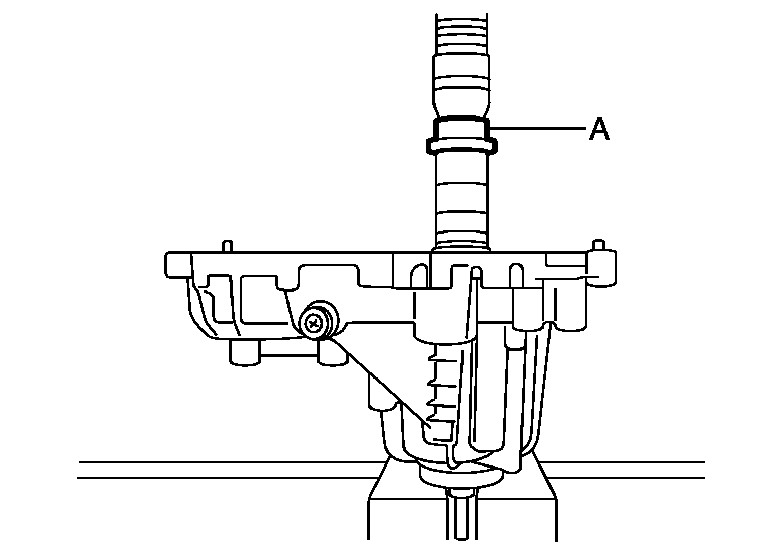
  1. Install breather tube to rear case within the angle (A) shown as follows.

    Angle (A): 80 - 100° 

    Fig 1: Installing Breather Tube To Rear Case Using Hammer
    G05979369Courtesy of NISSAN NORTH AMERICA, INC.
    CAUTION: Never reuse breather tube.
  2. Install baffle plate to rear case.
  3. Install rear bearing to rear case.
    CAUTION: Never use tools. Always install by hand.
  4. Install snap ring (1) to rear case.
    CAUTION: Never reuse snap ring.
    Fig 2: Identifying Rear Case Snap Ring
    G05979367Courtesy of NISSAN NORTH AMERICA, INC.
  5. Install main shaft assembly to rear case with the drift (A) [SST: ST35321000 (-)].
    CAUTION: Apply transfer fluid to the sliding surface of main shaft and needle bearing.
  6. Install O-ring to AWD solenoid harness connector.
    CAUTION:
    • Never reuse O-ring.
    • Apply transfer fluid to O-ring.
  7. Install AWD solenoid harness connector into rear case.
  8. Install retainer to AWD solenoid harness connector.
    Fig 3: Installing Main Shaft Assembly To Rear Case Using Drift
    G05979371Courtesy of NISSAN NORTH AMERICA, INC.
  9. Hold electric controlled coupling harness (1) with oil cover hold plate (2), install oil cover (3) to rear case (4).
    Fig 4: Identifying Electric Controlled Coupling Harness, Oil Cover, Hold Plate And Rear Case
    G06626637Courtesy of NISSAN NORTH AMERICA, INC.
  10. Install transfer fluid temperature sensor (1) to rear case.
    Fig 5: Identifying Transfer Fluid Temperature Sensor
    G06626629Courtesy of NISSAN NORTH AMERICA, INC.
  11. Set drive chain to front drive shaft.
    CAUTION: Identification mark (A) of drive chain should be in the side of front bearing (1) of front drive shaft.
  12. Install drive chain to main shaft, and then install front drive shaft.
    CAUTION: Never use tools. Always install by hand.
  13. Install oil pump to main shaft.
    Fig 6: Identifying Identification Mark On Front Bearing
    G05727203Courtesy of NISSAN NORTH AMERICA, INC.
  14. Install spacer (1) and steel ball (2) to main shaft.
    Fig 7: Identifying Main Shaft Spacer And Steel Ball
    G05979363Courtesy of NISSAN NORTH AMERICA, INC.
  15. Install snap ring (1) to main shaft.
    CAUTION:
    • Never reuse snap ring.
    • Never damage main shaft.
  16. Install main shaft bearing to front case.
    CAUTION: Never use tools. Always install by hand.
    Fig 8: Identifying Main Shaft Snap Ring
    G05979362Courtesy of NISSAN NORTH AMERICA, INC.
  17. Install snap ring (1) to front case.
    CAUTION:
    • Never reuse snap ring.
    • Never damage front case.
    Fig 9: Identifying Front Case Snap Ring
    G05979361Courtesy of NISSAN NORTH AMERICA, INC.
  18. Apply liquid gasket (1) to mating surface of rear case. Use Genuine Anaerobic Liquid Gasket or equivalent. Refer to "RECOMMENDED CHEMICAL PRODUCTS AND SEALANTS ".
    CAUTION: Remove old sealant from mounting surfaces. Also remove any moisture, oil, or foreign material from application and mounting surfaces.
  19. Set front case to rear case.
    CAUTION: Never damage the mating surface transmission side.
    Fig 10: Identifying Liquid Gasket
    G05979378Courtesy of NISSAN NORTH AMERICA, INC.
  20. Tighten front case and rear case fixing bolts.
    Bolts symbol Quantity
    A 14
    T (TORX bolt) 1
    *: With harness bracket.
  21. Install spacer to main shaft.
    CAUTION: Apply transfer fluid to spacer.
    Fig 11: Identifying Front And Rear Case Fixing Bolts Tightening Sequence
    G05979359Courtesy of NISSAN NORTH AMERICA, INC.
  22. Apply transfer fluid to outside of rear oil seal, and install rear oil seal to rear case with the drifts (A and B) within the dimension (L) shown as follows.
    Fig 12: Installing Rear Oil Seal To Rear Case Using Drifts
    G08992905Courtesy of NISSAN NORTH AMERICA, INC.

    L: 6.7 - 7.3 mm (0.264 - 0.287 in) 

    CAUTION:
    • Never reuse rear oil seal.
    • Apply petroleum jelly to oil seal lip.
    • When installing, never incline rear oil seal.
  23. Install companion flange while aligning the matching mark (A) of main shaft with the mark (B) of companion flange.
    Fig 13: Identifying Matching Marks On Main Shaft End And Companion Flange
    G05727164Courtesy of NISSAN NORTH AMERICA, INC.
  24. Tighten self-lock nut to the specified torque with flange wrench (A) (commercial service tool).
    CAUTION: Never reuse self-lock nut.
    Fig 14: Installing Companion Flange Self Lock Nut Using Wrench
    G05979336Courtesy of NISSAN NORTH AMERICA, INC.
  25. Apply transfer fluid to outside of main shaft oil seal, and install main shaft oil seal until it is flush with the end face of front case with the drift (A) [SST: ST30720000 (J-25405)].
    CAUTION:
    • Never reuse main shaft oil seal.
    • Apply petroleum jelly to oil seal lip.
    • When installing, never incline main shaft oil seal.
    Fig 15: Installing Main Shaft Oil Seal Using Drift
    G05979383Courtesy of NISSAN NORTH AMERICA, INC.
  26. Apply transfer fluid to outside of front oil seal, and install front oil seal until it is flush with the end face of front case with the drift (A) [SST: ST27862000 (-)].
    Fig 16: Installing Front Oil Seal Using Drift
    G05979384Courtesy of NISSAN NORTH AMERICA, INC.
    CAUTION:
    • Never reuse front oil seal.
    • Apply petroleum jelly to oil seal lip.
    • When installing, never incline front oil seal.
  27. Set gasket to drain plug. Install it to rear case.
    CAUTION: Never reuse gasket.
  28. Set gasket to filler plug. Install it to rear case.
    CAUTION:
    • Never reuse gasket.
    • After oil is filled, tighten filler plug to specified torque.