LEMON Manuals: Even more car manuals for everyone: 1960-2025
Home >> Infiniti >> 2013 >> FX37 Base, RWD >> Repair and Diagnosis >> Transmission >> Automatic Transmission >> System Description >> A/T Control System >> System Diagram
April 5, 2026: LEMON Manuals is launched! Read the announcement.

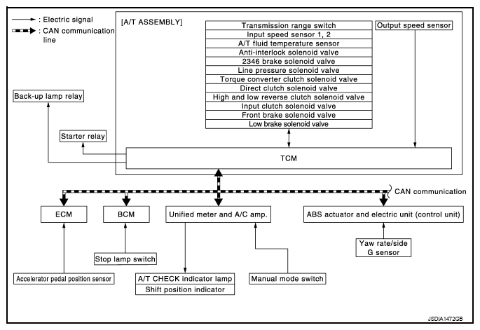
System Diagram

Fig 1: A/T Control System Diagram
G09001692Courtesy of NISSAN NORTH AMERICA, INC.