LEMON Manuals: Even more car manuals for everyone: 1960-2025
Home >> Infiniti >> 2013 >> FX50 >> Repair and Diagnosis >> Brakes >> Traction Control >> Brake Control System (VDC/TCS/Abs) >> System Description >> TCS >> System Diagram
April 5, 2026: LEMON Manuals is launched! Read the announcement.

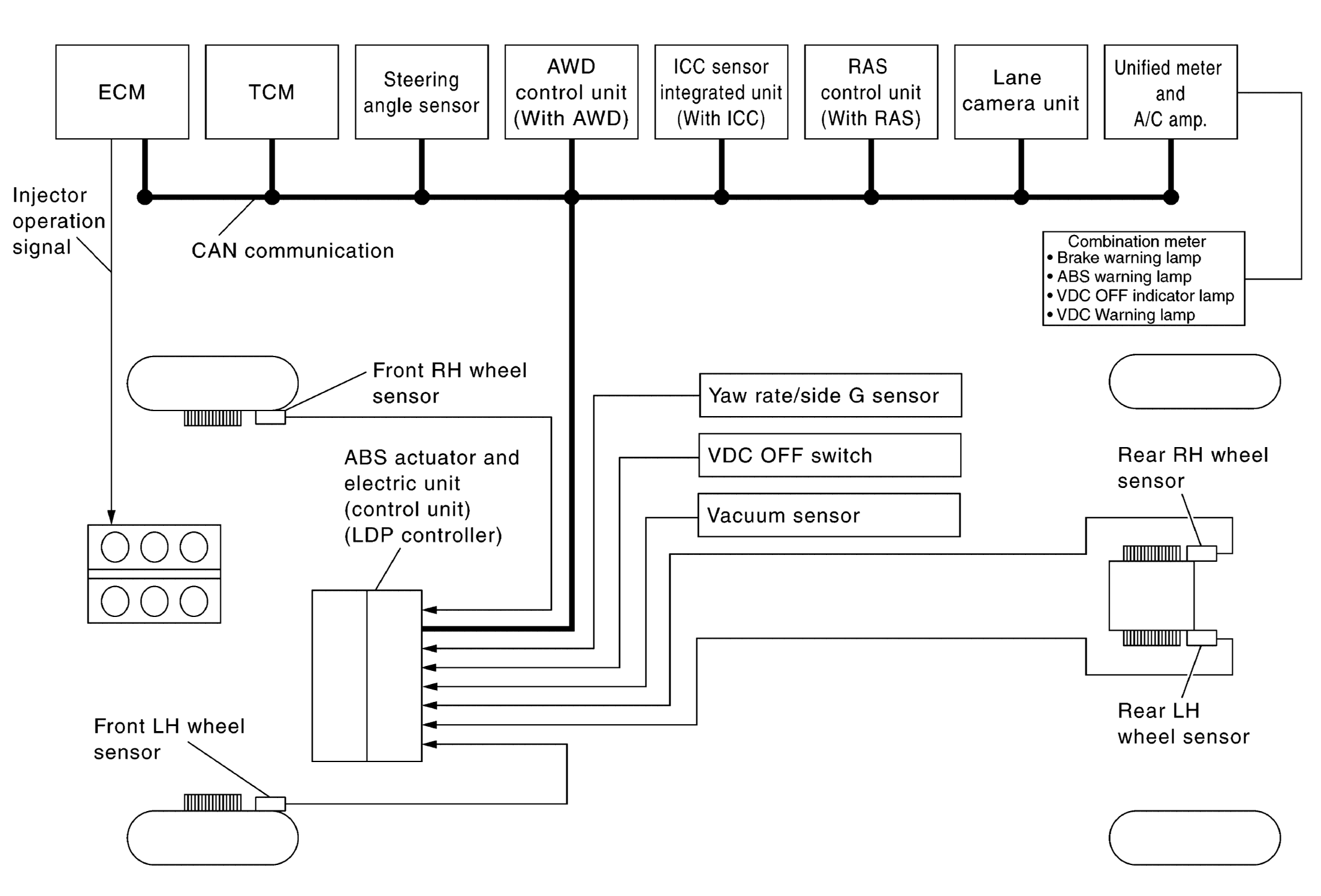
System Diagram

Fig 1: TCS System Diagram (With LDP)
G08218031Courtesy of NISSAN NORTH AMERICA, INC.
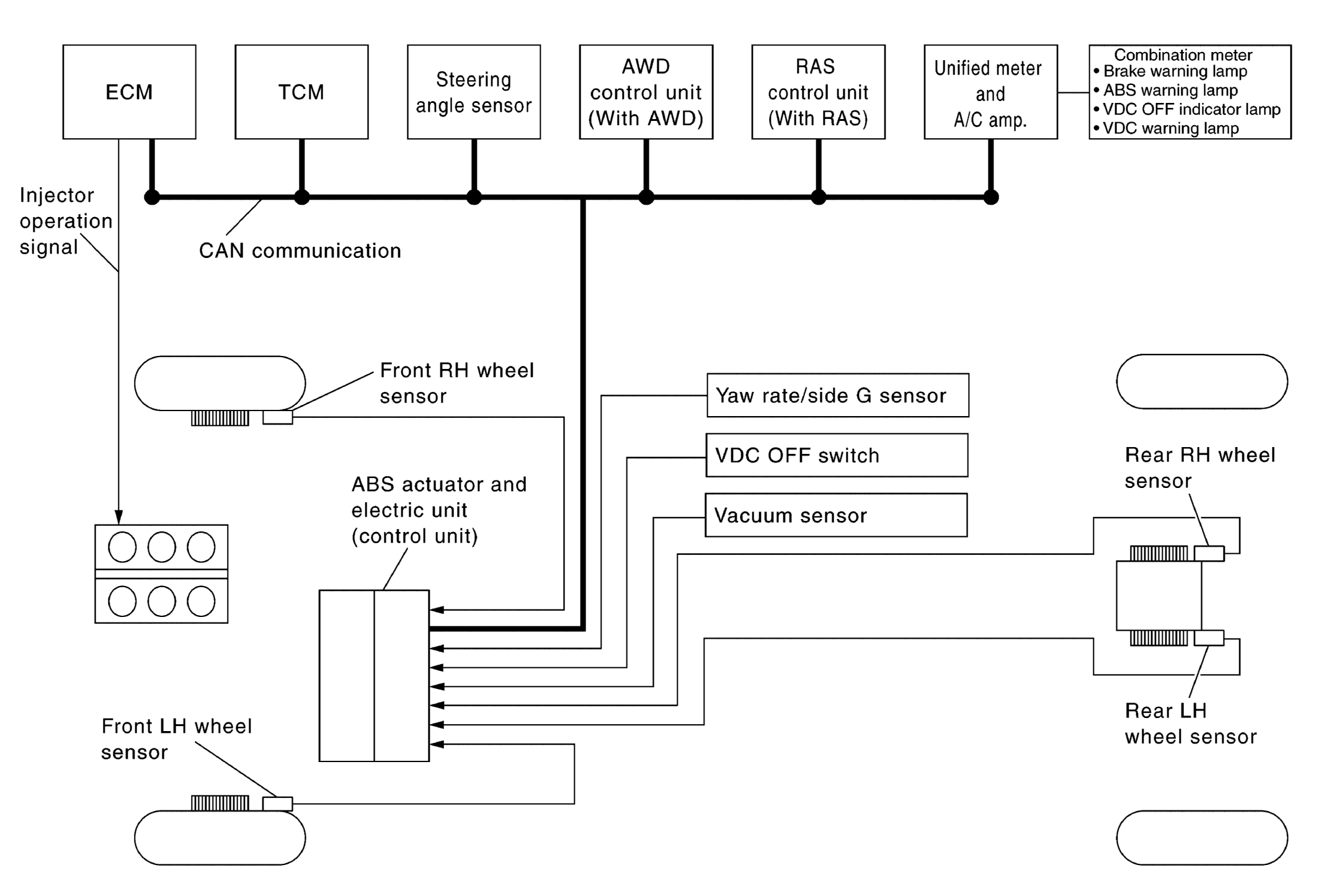
Fig 2: TCS System Diagram (Without LDP)
G08218033Courtesy of NISSAN NORTH AMERICA, INC.