LEMON Manuals: Even more car manuals for everyone: 1960-2025
Home >> Infiniti >> 2013 >> FX50 >> Repair and Diagnosis >> Transmission >> Automatic Transmission >> System Description >> Shift Pattern Control >> ASC (Adaptive Shift Control) >> ASC (ADAPTIVE SHIFT CONTROL): System Diagram
April 5, 2026: LEMON Manuals is launched! Read the announcement.

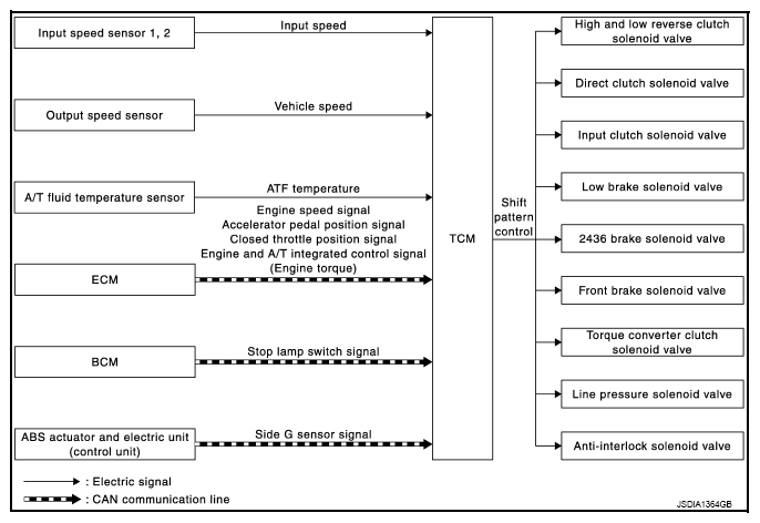
ASC (ADAPTIVE SHIFT CONTROL): System Diagram

Fig 1: Adaptive Shift Control System Diagram
G09002147Courtesy of NISSAN NORTH AMERICA, INC.