LEMON Manuals: Even more car manuals for everyone: 1960-2025
Home >> Infiniti >> 2013 >> FX50 >> Repair and Diagnosis >> Transmission >> Automatic Transmission >> Unit Disassembly And Assembly >> Transmission Assembly >> Assembly
April 5, 2026: LEMON Manuals is launched! Read the announcement.

Transmission Assembly: Assembly

  1. As shown in the figure below, use a drift [22 mm (0.87 in) dia. commercial service tool] to drive manual shaft oil seals into the transmission case until it is flush.
    CAUTION:
    • Never reuse manual shaft oil seals.
    • Apply ATF to manual shaft oil seals.
    Fig 1: Driving Manual Shaft Oil Seals Into Transmission Case Using Drift
    G09002329Courtesy of NISSAN NORTH AMERICA, INC.
  2. Install detent spring to transmission case. Tighten detent spring bolt to the specified torque.
    Fig 2: Locating Detent Spring Bolt
    G09002330Courtesy of NISSAN NORTH AMERICA, INC.
  3. Install manual shaft to transmission case.
    Fig 3: Installing Manual Shaft From Transmission Case
    G09002331Courtesy of NISSAN NORTH AMERICA, INC.
  4. Install parking rod (1) to manual plate (2).
    Fig 4: Installing Parking Rod To Manual Plate
    G09002332Courtesy of NISSAN NORTH AMERICA, INC.
  5. Install manual plate (with parking rod) to manual shaft.
    Fig 5: Installing Manual Plate (With Parking Rod) To Manual Shaft
    G09002333Courtesy of NISSAN NORTH AMERICA, INC.
  6. Install retaining pin (1) into the manual plate and manual shaft.
    1. Fit pinhole of the manual plate to pinhole of the manual shaft with a pin punch.
    2. Use a hammer to tap the retaining pin into the manual plate.

      A: Approx. 2 mm (0.08in) 

      CAUTION: Drive retaining pin to 2±0.5 mm (0.08±0.020 in) over the manual plate.
      Fig 6: Identifying Retaining Pin Dimension
      G09002334Courtesy of NISSAN NORTH AMERICA, INC.
  7. Install retaining pin into the transmission case and manual shaft.
    1. Fit pinhole of the transmission case to pinhole of the manual shaft with a pin punch.
    2. Use a hammer to tap the retaining pin into the transmission case.
      CAUTION: Drive retaining pin to 5±1 mm (0.20±0.04 in) over the transmission case.
      Fig 7: Identifying Retaining Pin Dimension And Transmission Case
      G09002335Courtesy of NISSAN NORTH AMERICA, INC.
  8. Install D-rings to reverse brake piston.
    Fig 8: Installing Reverse Brake Piston D-Rings
    G09002336Courtesy of NISSAN NORTH AMERICA, INC.
  9. Install reverse brake piston to transmission case.
    Fig 9: Installing Reverse Brake Piston
    G09002337Courtesy of NISSAN NORTH AMERICA, INC.
  10. Install needle bearing to drum support edge surface.
    CAUTION: Check the direction of needle bearing. Refer to "LOCATION OF NEEDLE BEARINGS AND BEARING RACES ".
    Fig 10: Installing Transmission Case Needle Bearing
    G09002338Courtesy of NISSAN NORTH AMERICA, INC.
  11. Install seal rings to drum support.
    Fig 11: Installing Seal Rings To Drum Support
    G09002339Courtesy of NISSAN NORTH AMERICA, INC.
  12. Install reverse brake spring retainer and reverse brake return spring to transmission case.
    Fig 12: Installing Spring Retainer
    G09002340Courtesy of NISSAN NORTH AMERICA, INC.
  13. Set the clutch spring compressor [SST: KV31102400 (J-34285 and J-34285-87)]on reverse brake spring retainer and install snap ring (fixing spring retainer) to transmission case while compressing return spring.
    CAUTION:
    • Securely assemble them using a flat-bladed screwdriver so that snap ring tension is slightly weak.
    • Be careful not to damage snap ring.
    Fig 13: Installing Snap Ring To Transmission Case Using Clutch Spring Compressor
    G09002341Courtesy of NISSAN NORTH AMERICA, INC.
  14. Install reverse brake component part (drive plates, driven plates, and dish plates) to transmission case.
    Fig 14: Identifying Reverse Brake Component Part (Drive Plates, Driven Plates And Dish Plates)
    G09002342Courtesy of NISSAN NORTH AMERICA, INC.
    CAUTION: Check order of plates.
  15. Assemble N-spring.
  16. Install reverse brake retaining plate to transmission case.
    Fig 15: Installing Transmission Case, N-Spring, Drive And Driven Plate
    G09002343Courtesy of NISSAN NORTH AMERICA, INC.
  17. Install snap ring to transmission case.
    CAUTION: Be careful not to damage snap ring.
    Fig 16: Installing Transmission Case Snap Ring
    G09002344Courtesy of NISSAN NORTH AMERICA, INC.
  18. Measure clearance between retaining plate and snap ring. If not within specified clearance, select proper retaining plate.

    Specified clearance "A" 

    Standard:  "REVERSE BRAKE CLEARANCE ".

    Retaining plate: Refer to  "REVERSE BRAKE CLEARANCE "

    Fig 17: Measuring Clearance Between Retaining Plate And Snap Ring
    G09002345Courtesy of NISSAN NORTH AMERICA, INC.
  19. Install needle bearing to transmission case.
    CAUTION: Check the direction of needle bearing. Refer to "LOCATION OF NEEDLE BEARINGS AND BEARING RACES ".
    Fig 18: Installing Transmission Case Needle Bearing
    G09002346Courtesy of NISSAN NORTH AMERICA, INC.
  20. Install output speed sensor (1) to transmission case and tighten output speed sensor mounting bolt (←) to the specified torque.
    CAUTION:
    • Never subject it to impact by dropping or hitting it.
    • Never disassemble.
    • Never allow metal filings, etc. to get on the sensor's front edge magnetic area.
    • Never place in an area affected by magnetism.
    Fig 19: Installing Output Speed Sensor
    G09002347Courtesy of NISSAN NORTH AMERICA, INC.
  21. As shown in the figure below, use the drift [64 mm (2.52 in) dia. commercial service tool] (A) to drive rear oil seal into adapter case until it is flush.
    CAUTION:
    • Never reuse rear oil seal.
    • Apply ATF to rear oil seal.
    Fig 20: Installing Rear Oil Seal Into Adapter Case Using Tool
    G09002348Courtesy of NISSAN NORTH AMERICA, INC.
  22. Install return spring (1) to parking pawl (2).
    Fig 21: Identifying Parking Pawl And Return Spring
    G09002349Courtesy of NISSAN NORTH AMERICA, INC.
  23. Install parking pawl (with return spring) and pawl shaft to adapter case.
    Fig 22: Installing Parking Pawl (With Return Spring) And Pawl Shaft From Adapter Case
    G09002350Courtesy of NISSAN NORTH AMERICA, INC.
  24. Install parking actuator support to adapter case.
    Fig 23: Installing Parking Actuator Support From Adapter Case
    G09002351Courtesy of NISSAN NORTH AMERICA, INC.
  25. Install needle bearing (1) to adapter case.
    CAUTION: Check the direction of needle bearing. Refer to "LOCATION OF NEEDLE BEARINGS AND BEARING RACES ".
    Fig 24: Installing Adapter Case Needle Bearing
    G09002352Courtesy of NISSAN NORTH AMERICA, INC.
  26. Install seal rings (1) to output shaft.
    Fig 25: Installing Output Shaft Seal Rings
    G09002353Courtesy of NISSAN NORTH AMERICA, INC.
  27. Install parking gear (1) to output shaft (2).
    Fig 26: Installing Parking Gear To Output Shaft
    G09002354Courtesy of NISSAN NORTH AMERICA, INC.
  28. Install output shaft to transmission case.
    CAUTION: Be careful not to mistake front for rear because both sides looks similar. (Thinner end is front side.)
    Fig 27: Installing Output Shaft Into Transmission Case By Rotating Left/Right
    G09002355Courtesy of NISSAN NORTH AMERICA, INC.
  29. Install bearing race to output shaft.
    Fig 28: Installing Bearing Race To Output Shaft
    G09002356Courtesy of NISSAN NORTH AMERICA, INC.
  30. Install gasket onto transmission case.
    CAUTION:
    • Completely remove all moisture, oil and old gasket, etc. from the transmission case and adapter case assembly mounting surfaces.
    • Never reuse gasket.
    Fig 29: Installing Gasket Onto Transmission Case
    G09002357Courtesy of NISSAN NORTH AMERICA, INC.
  31. Install adapter case assembly to transmission case.
    CAUTION: Insert the tip of parking rod between the parking pawl and the parking actuator support when assembling the adapter case assembly.
    Fig 30: Installing Adapter Case Assembly To Transmission Case
    G09002358Courtesy of NISSAN NORTH AMERICA, INC.
  32. Tighten adapter case assembly bolts to the specified torque.
    Fig 31: Locating Adapter Case Assembly Bolts
    G09002359Courtesy of NISSAN NORTH AMERICA, INC.
  33. Install needle bearing to drum support.
    CAUTION: Check the direction of needle bearing. Refer to "LOCATION OF NEEDLE BEARINGS AND BEARING RACES ".
    Fig 32: Installing Needle Bearing And Drum Support
    G09002360Courtesy of NISSAN NORTH AMERICA, INC.
  34. Install direct clutch assembly to reverse brake.
    CAUTION: Make sure that drum support edge surface and direct clutch inner boss edge surface come to almost same place.
    Fig 33: Installing Direct Clutch Assembly
    G09002361Courtesy of NISSAN NORTH AMERICA, INC.
  35. Install high and low reverse clutch assembly to direct clutch.
    Fig 34: Installing High And Low Reverse Clutch Assembly
    G09002362Courtesy of NISSAN NORTH AMERICA, INC.
  36. Align the drive plate using a flat-bladed screwdriver.
    Fig 35: Aligning Drive Plate Using Flat-Bladed Screwdriver
    G09002363Courtesy of NISSAN NORTH AMERICA, INC.
  37. Install high and low reverse clutch hub, mid sun gear assembly, and rear sun gear assembly as a unit.
    Fig 36: Locating Mid And Rear Sun Gear Assembly
    G09002364Courtesy of NISSAN NORTH AMERICA, INC.
    CAUTION: Make sure that portion "A" of high and low reverse clutch drum protrudes approximately 2 mm (0.08 in) beyond portion "B" of rear sun gear.
    Fig 37: Identifying High And Low Reverse Clutch Drum Portion "A" And Rear Sun Gear Portion "B"
    G09002365Courtesy of NISSAN NORTH AMERICA, INC.
  38. Install needle bearing to rear carrier assembly.
    CAUTION: Check the direction of needle bearing. Refer to "LOCATION OF NEEDLE BEARINGS AND BEARING RACES ".
    Fig 38: Installing Needle Bearing From Rear Carrier Assembly
    G09002366Courtesy of NISSAN NORTH AMERICA, INC.
  39. Install bearing race to rear carrier assembly.
    CAUTION: Check the direction of needle bearing. Refer to "LOCATION OF NEEDLE BEARINGS AND BEARING RACES ".
    Fig 39: Installing Bearing Race From Rear Carrier Assembly
    G09002367Courtesy of NISSAN NORTH AMERICA, INC.
  40. Install rear carrier assembly to direct clutch drum.
    Fig 40: Locating Clutch Drum Rear Carrier Assembly
    G09002368Courtesy of NISSAN NORTH AMERICA, INC.
  41. Install needle bearing (rear side) to mid carrier assembly.
    CAUTION: Check the direction of needle bearing. Refer to "LOCATION OF NEEDLE BEARINGS AND BEARING RACES ".
    Fig 41: Installing Needle Bearing (Rear Side) From Mid Carrier Assembly
    G09002369Courtesy of NISSAN NORTH AMERICA, INC.
  42. Install needle bearing (front side) to mid carrier assembly.
    CAUTION: Check the direction of needle bearing. Refer to "LOCATION OF NEEDLE BEARINGS AND BEARING RACES ".
    Fig 42: Installing Needle Bearing (Front Side) To Mid Carrier Assembly
    G09002370Courtesy of NISSAN NORTH AMERICA, INC.
  43. Install mid carrier assembly to rear carrier assembly.
    Fig 43: Locating Mid And Rear Carrier Assembly
    G09002371Courtesy of NISSAN NORTH AMERICA, INC.
  44. Install seal rings (1) to input clutch assembly.
    Fig 44: Installing Input Clutch Assembly Seal Rings
    G09002372Courtesy of NISSAN NORTH AMERICA, INC.
  45. Install needle bearing (1) to front carrier assembly.
    CAUTION: Check the direction of needle bearing. Refer to "LOCATION OF NEEDLE BEARINGS AND BEARING RACES ".
    Fig 45: Installing Front Carrier Assembly Needle Bearing
    G09002373Courtesy of NISSAN NORTH AMERICA, INC.
  46. Install input clutch assembly (with front carrier assembly and rear internal gear) (1) to transmission case.
    CAUTION: Check that the needle bearing (2) is securely positioned. If the needle bearing position is misaligned, adjust it to the specified position.
    Fig 46: Installing Input Clutch Assembly And Needle Bearing
    G09002374Courtesy of NISSAN NORTH AMERICA, INC.
  47. Install 1st one-way clutch (1) to front brake hub (with under drive carrier) (2).
  48. Check operation of 1st one-way clutch.
    1. Hold 1st one-way clutch.
    2. Check front brake hub for correct locking and unlocking directions.
      CAUTION: If not as shown in figure, check installation direction of 1st one-way clutch.
    Fig 47: Checking 1st One-Way Clutch Operation
    G09002375Courtesy of NISSAN NORTH AMERICA, INC.
  49. Install under drive carrier (with 1st one-way clutch) (1) to transmission case.
    Fig 48: Locating Drive Carrier (With 1st One-Way Clutch)
    G09002376Courtesy of NISSAN NORTH AMERICA, INC.
  50. Install snap ring (1) to transmission case.
    CAUTION: Be careful not to damage snap ring.
    Fig 49: Locating Transmission Case Snap Ring
    G09002377Courtesy of NISSAN NORTH AMERICA, INC.
  51. Install front brake component part (retaining plates, drive plates, and driven plate) to transmission case.
    Fig 50: Identifying Front Brake Component Part (Retaining Plates, Drive Plates And Driven Plate)
    G09002378Courtesy of NISSAN NORTH AMERICA, INC.
    CAUTION: Check order of plates.
  52. Install needle bearing (1) to under drive carrier assembly.
    CAUTION: Check the direction of needle bearing. Refer to "LOCATION OF NEEDLE BEARINGS AND BEARING RACES ".
    Fig 51: Locating Under Drive Carrier Assembly Needle Bearing
    G09002379Courtesy of NISSAN NORTH AMERICA, INC.
  53. Install under drive sun gear (1) to under drive carrier assembly.
    Fig 52: Locating Under Drive Sun Gear
    G09002380Courtesy of NISSAN NORTH AMERICA, INC.
  54. Adjustment of total end play "T".
    • Measure clearance between bearing race (1) and oil pump cover (2).
    • Select proper thickness of bearing race so that end play is within specifications.
      Fig 53: Measuring Clearance Between Bearing Race And Oil Pump Cover
      G09002381Courtesy of NISSAN NORTH AMERICA, INC.
    1. Measure dimensions "K" and "L", and calculate dimension "J".
      Fig 54: Measuring Distance Between Oil Pump Fitting Surface Of Transmission Case And Needle Bearing Mating Surface Under Drive Sun Gear
      G09002382Courtesy of NISSAN NORTH AMERICA, INC.

      "J": Distance between the oil pump fitting surface of transmission case and the needle bearing mating surface of under drive sun gear. 

      J = K - L 

      1. Measure dimension "K" between the converter housing fitting surface of transmission case and the needle bearing mating surface of under drive sun gear.
        CAUTION:
        • Never change the straightedge (A) installation position before the completion of "L" measurement.
        • Measure dimension "K" in at least three places, and take the average.
        Fig 55: Measuring Dimension K Between Converter Housing Fitting Surface Of Transmission Case And Needle Bearing Mating Surface Of Under Drive Sun Gear
        G09002383Courtesy of NISSAN NORTH AMERICA, INC.
      2. Measure dimension "L" between the converter housing fitting surface of transmission case and the oil pump fitting surface of transmission case.
        CAUTION: Measure dimension "L" in at least three places, and take the average.
      3. Calculate dimension "J".

        J = K - L 

        Fig 56: Measuring Dimension L Between Transmission Case Converter Housing And Oil Pump Fitting Surface
        G09002384Courtesy of NISSAN NORTH AMERICA, INC.
    2. Measure dimensions "M1" and "M2", and calculate dimension "M".
      Fig 57: Measuring Distance Between Transmission Case Fitting Surface And Needle Bearing Of Oil Pump
      G09002385Courtesy of NISSAN NORTH AMERICA, INC.

      "M": Distance between the transmission case fitting surface of oil pump and the needle bearing on oil pump. 

      M = M1-- M2 

      1. Place bearing race (1) and needle bearing (2) on oil pump assembly (3).
        Fig 58: Locating Bearing Race, Needle Bearing And Oil Pump Assembly
        G09002386Courtesy of NISSAN NORTH AMERICA, INC.
      2. Measure dimension "M1" between the transmission case fitting surface of oil pump and the end of oil pump.
        Fig 59: Measuring Dimension M1 Between Transmission Case Fitting Surface And End Of Oil Pump
        G09002387Courtesy of NISSAN NORTH AMERICA, INC.
        CAUTION: Measure dimension "M1" in at least three places, and take the average.
      3. Measure dimension "M2" between the needle bearing on oil pump and the end of oil pump.
        Fig 60: Measuring Dimension M2 Between Needle Bearing And End Of Oil Pump
        G09002388Courtesy of NISSAN NORTH AMERICA, INC.
        CAUTION: Measure dimension "M2" in at least three places, and take the average.
      4. Calculate dimension "M".

        M = M1-- M2 

    3. Adjust total end play "T".
      Fig 61: Locating Bearing Race And Oil Pump Assembly
      G09002389Courtesy of NISSAN NORTH AMERICA, INC.

      T = J - M 

      Total end play "T": Refer to  "TOTAL END PLAY ".

      • Select proper thickness of bearing race so that total end play is within specifications.

        Bearing races: Refer to  "TOTAL END PLAY ".

  55. Adjustment of front brake clearance "C".
    • Measure clearance between front brake piston (1) and front brake retaining plate (2).
    • Select proper thickness of front brake retaining plat so that clearance is within specifications.
      Fig 62: Measuring Clearance Between Front Brake Piston And Retaining Plate
      G09002390Courtesy of NISSAN NORTH AMERICA, INC.
    1. Measure dimensions "O" and "P", and calculate dimension "N".
      Fig 63: Measuring Distance Between Oil Pump Fitting Surface Of Transmission Case And Front Brake Retaining Plate
      G09002391Courtesy of NISSAN NORTH AMERICA, INC.

      "N": Distance between the oil pump fitting surface of transmission case and the front brake retaining plate. 

      N = O - P 

      1. Measure dimension "O" between the converter housing fitting surface of transmission case and the front brake retaining plate.
        Fig 64: Measuring Dimension O Between Converter Housing Fitting Surface Of Transmission Case And Front Brake Retaining Plate
        G09002392Courtesy of NISSAN NORTH AMERICA, INC.
        CAUTION:
        • Never change the straightedge (A) installation position before the completion of "P" measurement.
        • Measure dimension "O" in at least three places, and take the average.
      2. Measure dimension "P" between the converter housing fitting surface of transmission case and the oil pump fitting surface of transmission case.
        Fig 65: Measuring Dimension P Between Converter Housing Fitting Surface Of Transmission Case And Oil Pump Fitting Surface Of Transmission Case
        G09002393Courtesy of NISSAN NORTH AMERICA, INC.
        CAUTION: Measure dimension "P" in at least three places, and take the average.
      3. Calculate dimension "N".

        N = O - P 

    2. Measure dimensions "Q1" and "Q2", and calculate dimension "Q".
      Fig 66: Measuring Distance Between Transmission Case Fitting Surface Of Oil Pump And Front Brake Piston
      G09002394Courtesy of NISSAN NORTH AMERICA, INC.

      "Q": Distance between the transmission case fitting surface of oil pump and the front brake piston. 

      Q = Q1-- Q2 

      1. Measure dimension "Q1" between the transmission case fitting surface of oil pump and the straightedge on front brake piston.
        Fig 67: Measuring Dimension Q1 Between Transmission Case Fitting Surface Of Oil Pump And Straightedge On Front Brake Piston
        G09002395Courtesy of NISSAN NORTH AMERICA, INC.
        CAUTION: Measure dimension "Q1" in at least three places, and take the average.
      2. Measure dimension "Q2" of the straightedge.
        Fig 68: Measuring Dimension Q2 Of Straightedge
        G09002396Courtesy of NISSAN NORTH AMERICA, INC.
      3. Calculate dimension "Q".

        Q = Q1-- Q2 

    3. Adjust front brake clearance "C".
      Fig 69: Locating Front Brake Piston And Retaining Plate
      G09002397Courtesy of NISSAN NORTH AMERICA, INC.

      C = N - Q 

      Front brake clearance "C": Refer to  "FRONT BRAKE CLEARANCE ".

      • Select proper thickness of retaining plate so that front brake clearance is within specifications.

        Retaining plate: Refer to  "FRONT BRAKE CLEARANCE ".

  56. Remove under drive sun gear (1) from under drive carrier assembly.
    Fig 70: Locating Under Drive Sun Gear
    G09002398Courtesy of NISSAN NORTH AMERICA, INC.
  57. Install needle bearing (1) to under drive sun gear.
    CAUTION: Check the direction of needle bearing. Refer to "LOCATION OF NEEDLE BEARINGS AND BEARING RACES ".
    Fig 71: Installing Needle Bearing To Under Drive Sun Gear
    G09002399Courtesy of NISSAN NORTH AMERICA, INC.
  58. Install O-ring (1) to oil pump assembly.
    Fig 72: Installing Oil Pump Assembly O-Ring
    G09002400Courtesy of NISSAN NORTH AMERICA, INC.
  59. Install seal ring (1) to oil pump assembly.
    Fig 73: Installing Oil Pump Assembly Seal Ring
    G09002401Courtesy of NISSAN NORTH AMERICA, INC.
  60. Install bearing race (1) to oil pump assembly.
    Fig 74: Installing Oil Pump Assembly Bearing Race
    G09002402Courtesy of NISSAN NORTH AMERICA, INC.
  61. Install under drive sun gear (with needle bearing) (1) to oil pump assembly (2).
    Fig 75: Locating Drive Sun Gear (With Needle Bearing) And Oil Pump Assembly
    G09002403Courtesy of NISSAN NORTH AMERICA, INC.
  62. Install oil pump assembly (with under drive sun gear) to transmission case.
    CAUTION: Apply ATF to oil pump bearing.
    Fig 76: Installing Oil Pump Assembly (With Under Drive Sun Gear) To Transmission Case
    G09002404Courtesy of NISSAN NORTH AMERICA, INC.
  63. Apply recommended sealant to oil pump assembly as shown in the figure below.
    Fig 77: Locating Oil Pump Assembly Sealant Applying Area
    G09002405Courtesy of NISSAN NORTH AMERICA, INC.
    CAUTION: Completely remove all moisture, oil and old sealant, etc. from the oil pump mounting bolts and oil pump mounting bolt mounting surfaces.
  64. Tighten oil pump bolts (←) to the specified torque.
    Fig 78: Locating Oil Pump Assembly And Transmission Case Tightening Bolts
    G09002406Courtesy of NISSAN NORTH AMERICA, INC.
  65. Install O-ring to input clutch assembly.
    Fig 79: Locating Input Clutch Assembly O-Ring
    G09002407Courtesy of NISSAN NORTH AMERICA, INC.
  66. Install converter housing to transmission case, and tighten converter housing bolts (←) to the specified torque.
    Fig 80: Locating Converter Housing And Transmission Case Tightening Bolts
    G09002408Courtesy of NISSAN NORTH AMERICA, INC.
  67. Connect TCM connector (A).
    Fig 81: Connecting TCM Connector
    G09002409Courtesy of NISSAN NORTH AMERICA, INC.
  68. Install joint connector (1) to the control valve & TCM.
    CAUTION: Apply ATF to O-ring of joint connector.
    Fig 82: Locating Control Valve And TCM Joint Connector
    G09002410Courtesy of NISSAN NORTH AMERICA, INC.
  69. Install the control valve & TCM (1) to transmission case.
    Fig 83: Installing Transmission Case Control Valve And TCM
    G09002411Courtesy of NISSAN NORTH AMERICA, INC.
    CAUTION:
    • Make sure that input speed sensor securely installs input speed sensor holes (A).
    • Hang down output speed sensor harness toward outside so as not to disturb installation of the control valve & TCM.
    • Adjust A/T assembly harness connector of the control valve & TCM to terminal hole of transmission case.
      Fig 84: Locating Input Speed Sensor Holes
      G09002412Courtesy of NISSAN NORTH AMERICA, INC.
    • Assemble it so that manual valve cutout is engaged with manual plate projection.
    Fig 85: Locating Manual Valve And Plate
    G09002413Courtesy of NISSAN NORTH AMERICA, INC.
  70. Install bolts and clip (1) to the control valve & TCM. Tighten bolt (E) to the specified torque before tightening the other than bolts.
    Fig 86: Locating TCM Control Valve Bolts And Clip
    G09002414Courtesy of NISSAN NORTH AMERICA, INC.
    Bolt symbol Length mm (in) Number of bolts
    A 43 (1.69) 3
    B 40 (1.57) 2
    C 54 (2.13) 6
    D 50 (1.97) 2
    E(1) 50 (1.97) 1
    (1) Reamer bolt
  71. Connect output speed sensor connector (A).
    Fig 87: Locating Output Speed Sensor Connector And Terminal Clip
    G09002415Courtesy of NISSAN NORTH AMERICA, INC.
  72. Engage output speed sensor harness with terminal clips (←).
  73. Pull down joint connector (1).
    CAUTION: Be careful not to damage connector.
    Fig 88: Pulling Down Joint Connector
    G09002416Courtesy of NISSAN NORTH AMERICA, INC.
  74. Install snap ring (1) to joint connector (2).
    Fig 89: Installing Joint Connector Snap Ring
    G09002417Courtesy of NISSAN NORTH AMERICA, INC.
  75. Install magnets (1) to oil pan.
    Fig 90: Installing Oil Pan Magnets
    G09002418Courtesy of NISSAN NORTH AMERICA, INC.
  76. Install oil pan gasket to transmission case.
    CAUTION:
    • Never reuse oil pan gasket.
    • Install it in the direction to align hole positions.
    • Completely remove all moisture, oil and old gasket, etc. from oil pan gasket mounting surface.
  77. Install oil pan (2) and clips (1) to transmission case.
    Fig 91: Locating Transmission Case Oil Pan And Clips
    G09002419Courtesy of NISSAN NORTH AMERICA, INC.
    CAUTION:
    • Be careful not to pinch harnesses.
    • Completely remove all moisture, oil and old gasket, etc. from oil pan mounting surface.
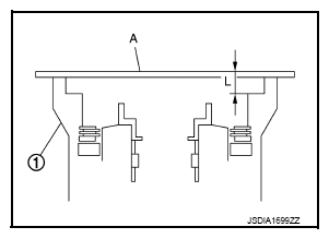
  78. Tighten oil pan mounting bolts to the specified torque in numerical order shown in the figure below, after temporarily tightening them. Tighten oil pan mounting bolts to the specified torque.
    Fig 92: Oil Pan Mounting Bolts Tightening Sequence
    G09002420Courtesy of NISSAN NORTH AMERICA, INC.
    CAUTION: Never reuse oil pan mounting bolts.
  79. Install drain plug to oil pan. Tighten drain plug to the specified torque.
    CAUTION: Never reuse drain plug gasket.
  80. Pour ATF into torque converter.
    • Approximately 2 liter (2-1/8 US qt, 1-3/4 Imp qt) of ATF is required for a new torque converter. 
    • When reusing old torque converter, add the same amount of ATF as was drained. 
      Fig 93: Pouring ATF Into Torque Converter
      G09002421Courtesy of NISSAN NORTH AMERICA, INC.
  81. Install torque converter while aligning notches of torque converter with notches of oil pump.
    CAUTION: Install torque converter while rotating it.
    Fig 94: Installing Torque Converter
    G09002422Courtesy of NISSAN NORTH AMERICA, INC.
  82. Measure dimension "A" to make sure that torque converter is in proper position.
    Fig 95: Measuring Dimension For Torque Converter Position Using Scale And Straightedge
    G09002423Courtesy of NISSAN NORTH AMERICA, INC.

    Dimension "A": Refer to  "TORQUE CONVERTER ".