LEMON Manuals: Even more car manuals for everyone: 1960-2025
Home >> Infiniti >> 2013 >> G37 Base >> Repair and Diagnosis >> Brakes >> Traction Control >> Brake Control System (Convertible) >> VDC/TCS/Abs >> System Description >> VDC >> System Diagram
April 5, 2026: LEMON Manuals is launched! Read the announcement.

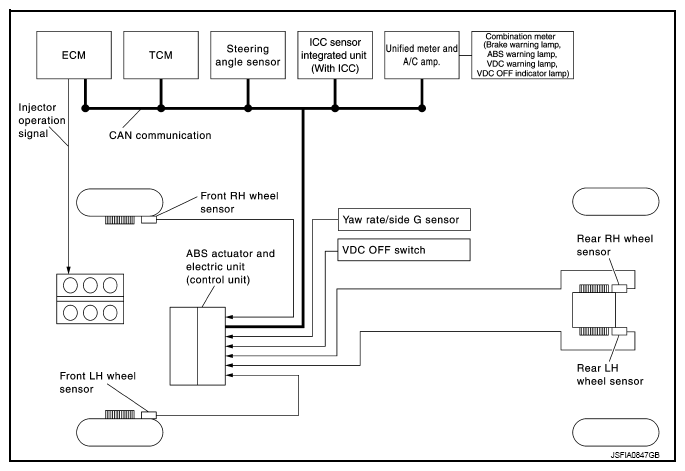
System Diagram

Fig 1: VDC - System Diagram
G08449969Courtesy of NISSAN NORTH AMERICA, INC.