LEMON Manuals: Even more car manuals for everyone: 1960-2025
Home >> Infiniti >> 2013 >> JX35 AWD >> Repair and Diagnosis (Single Page) >> Accessories & Equipment >> Drivers Assistance Systems - ADAS >> Driver Assistance System (LDW & LDP) >> System Description >> System >> Lane Departure Prevention (LDP) System >> LANE DEPARTURE PREVENTION (LDP) SYSTEM: System Description >> System Diagram
April 5, 2026: LEMON Manuals is launched! Read the announcement.

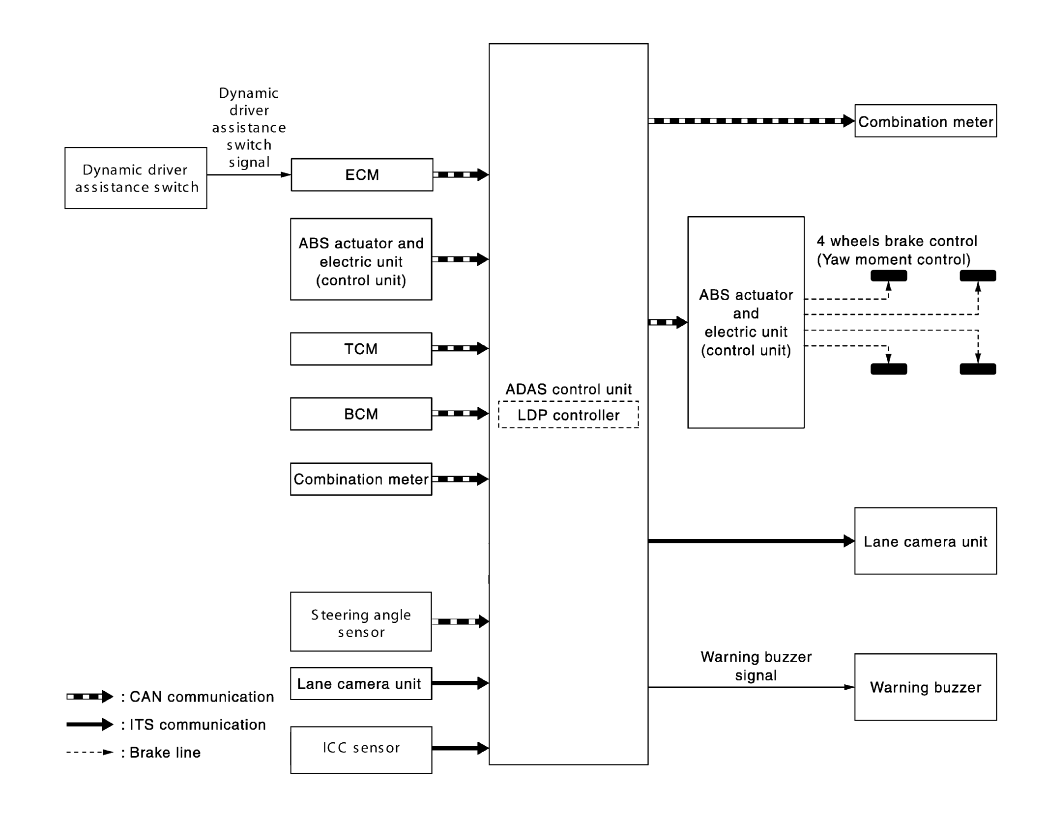
System Diagram

Fig 1: Lane Departure Prevention System Diagram
G08857481Courtesy of NISSAN NORTH AMERICA, INC.