LEMON Manuals: Even more car manuals for everyone: 1960-2025
Home >> Infiniti >> 2013 >> JX35 AWD >> Repair and Diagnosis >> Transmission >> Transfer Case >> System Description >> System >> AWD System >> AWD SYSTEM: Circuit Diagram
April 5, 2026: LEMON Manuals is launched! Read the announcement.

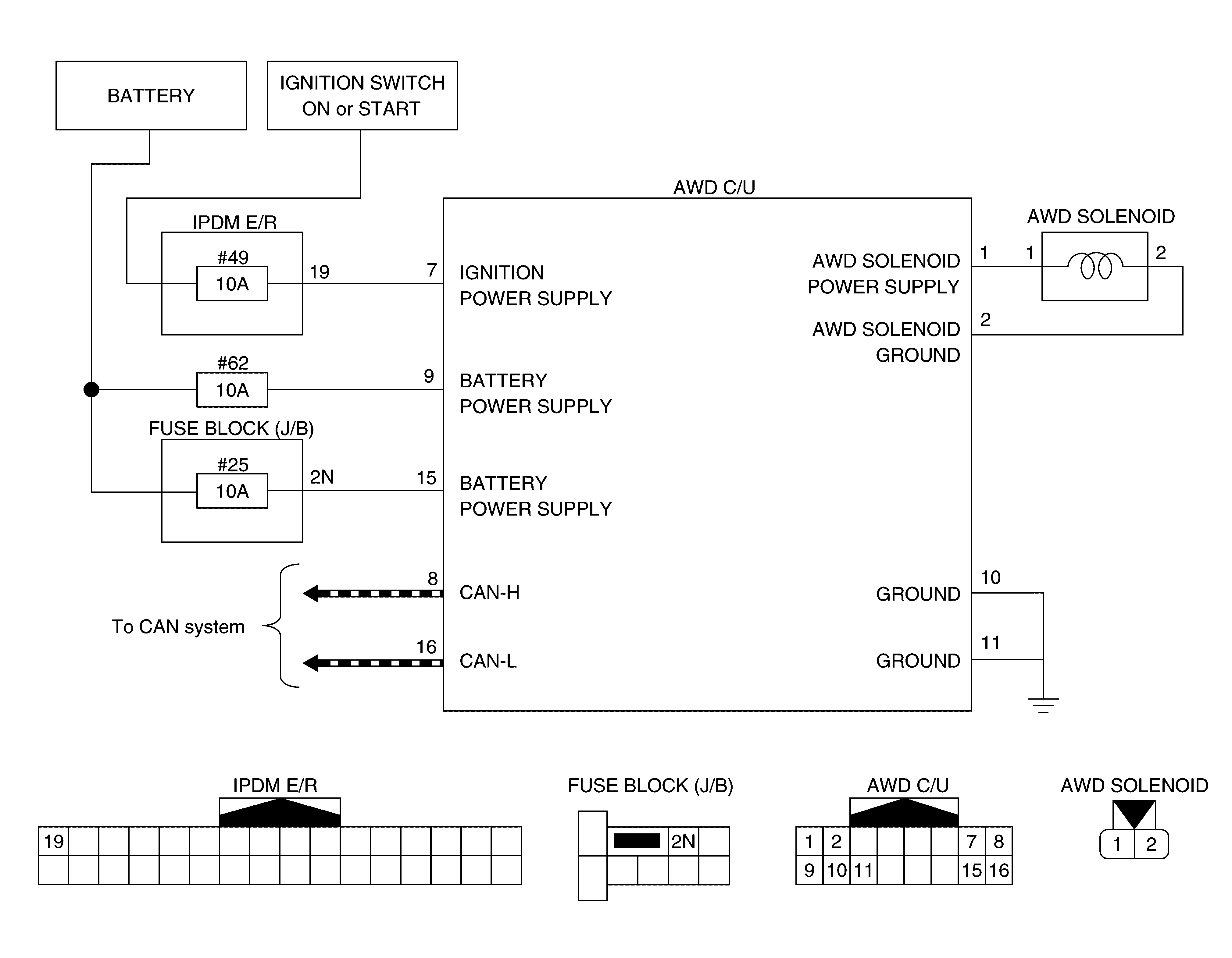
AWD SYSTEM: Circuit Diagram

Fig 1: AWD System Circuit Diagram
G08855973Courtesy of NISSAN NORTH AMERICA, INC.