LEMON Manuals
: Even more car manuals for everyone: 1960-2025
Home
>>
Infiniti
>>
2013
>>
M35h
>>
Repair and Diagnosis
>>
Accessories & Equipment
>>
Communication Devices
>>
Body Control System
>>
System Description
>>
System
>>
Signal Buffer System
>>
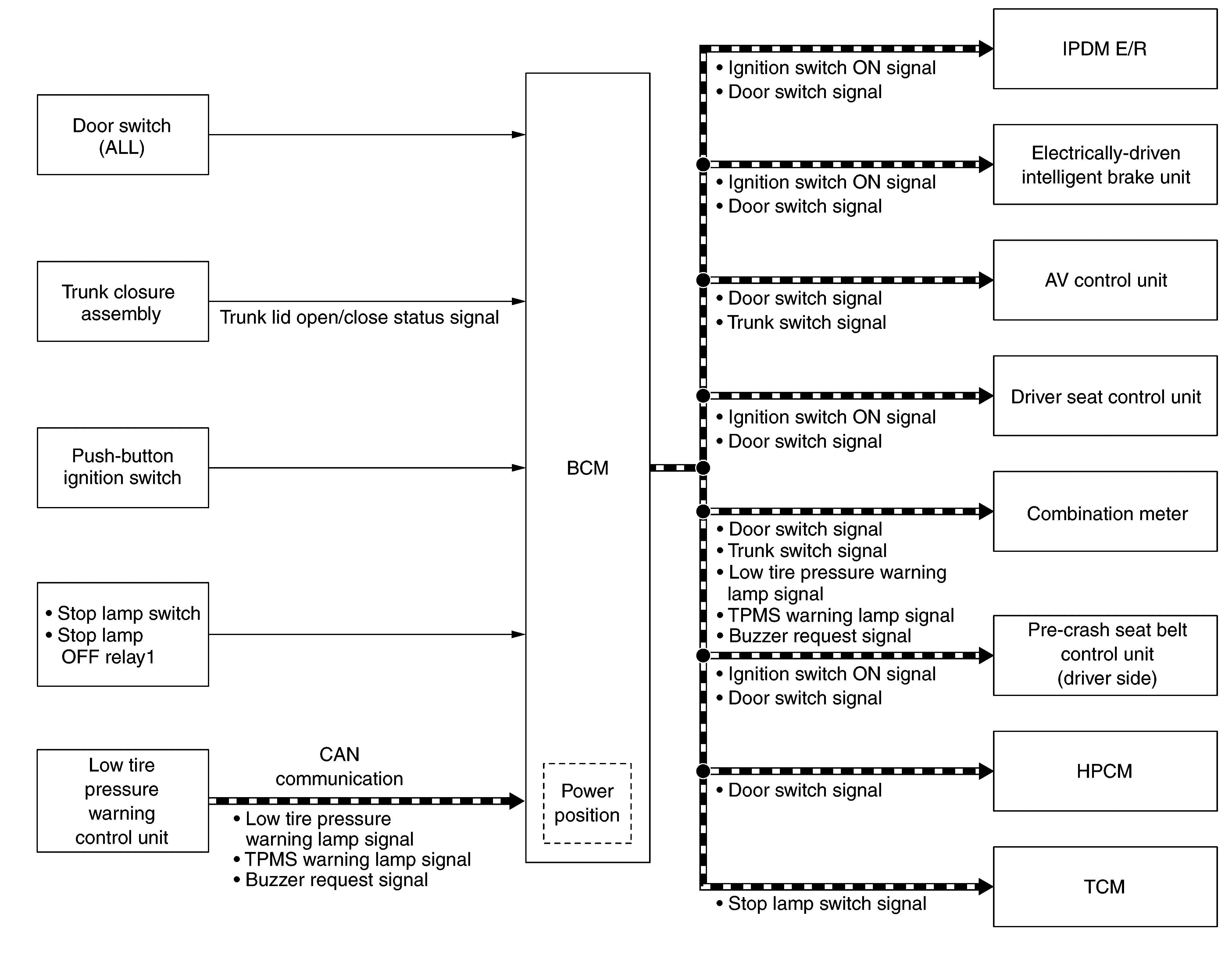
SIGNAL BUFFER SYSTEM: System Diagram
April 5, 2026:
LEMON Manuals is launched!
Read the announcement.
SIGNAL BUFFER SYSTEM: System Diagram
Fig 1: Signal Buffer System Diagram
Courtesy of NISSAN NORTH AMERICA, INC.