LEMON Manuals: Even more car manuals for everyone: 1960-2025
Home >> Infiniti >> 2013 >> M37 x >> Repair and Diagnosis >> Brakes >> Traction Control >> Brake Control System (With VDC) >> System Description >> System >> System Description >> System Diagram
April 5, 2026: LEMON Manuals is launched! Read the announcement.

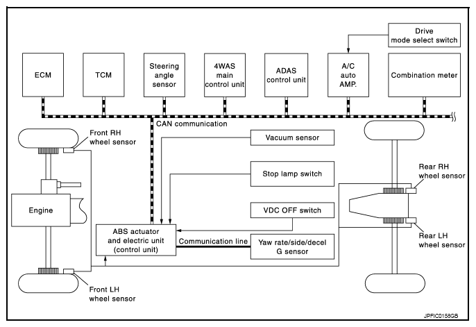
System Diagram

Fig 1: Brake Control System Diagram
G07019475Courtesy of NISSAN NORTH AMERICA, INC.