LEMON Manuals: Even more car manuals for everyone: 1960-2025
Home >> Infiniti >> 2013 >> M37 x >> Repair and Diagnosis >> External Pages >> Different car >> Section 50 (Body Control System) >> System Description >> Combination Switch Reading System >> System Diagram
April 5, 2026: LEMON Manuals is launched! Read the announcement.

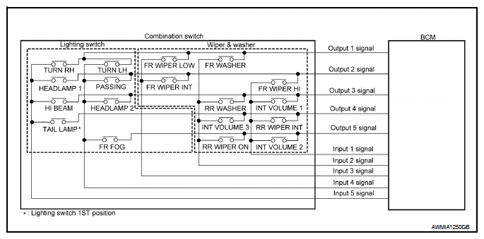
System Diagram

WARNING: This page is about a different car, the 2013 Nissan Xterra. However, it is still accessible from the selected car via links, so may be relevant.
Fig 1: Combination Switch System Diagram
G08203089Courtesy of NISSAN NORTH AMERICA, INC.