LEMON Manuals: Even more car manuals for everyone: 1960-2025
Home >> Infiniti >> 2013 >> QX56 AWD >> Repair and Diagnosis (Single Page) >> Heating, Ventilation & A/C (HVAC) >> HVAC Control Systems >> Heater & Air Conditioning Control System >> System Description >> System >> ACCS (Advanced Climate Control System) >> ACCS (ADVANCED CLIMATE CONTROL SYSTEM): System Diagram
April 5, 2026: LEMON Manuals is launched! Read the announcement.

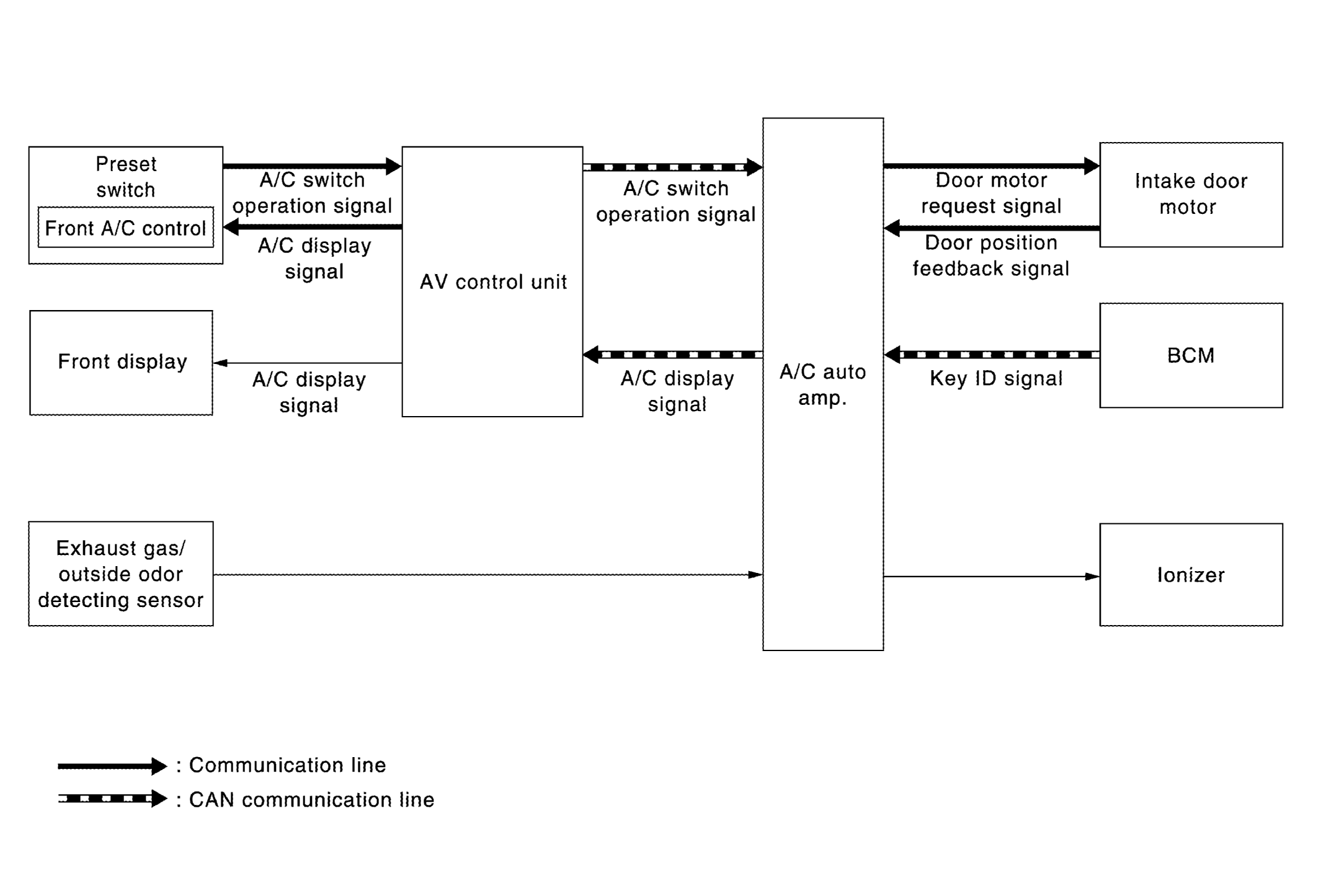
ACCS (ADVANCED CLIMATE CONTROL SYSTEM): System Diagram

Fig 1: Advanced Climate Control System Diagram
G08258856Courtesy of NISSAN NORTH AMERICA, INC.