LEMON Manuals: Even more car manuals for everyone: 1960-2025
Home >> Infiniti >> 2013 >> QX56 AWD >> Repair and Diagnosis >> Brakes >> Traction Control >> Brake Control System (With VDC) >> System Description >> System >> Brake Limited Slip Differential (BLSD) Function >> BRAKE LIMITED SLIP DIFFERENTIAL (BLSD) FUNCTION: System Description >> System Diagram
April 5, 2026: LEMON Manuals is launched! Read the announcement.

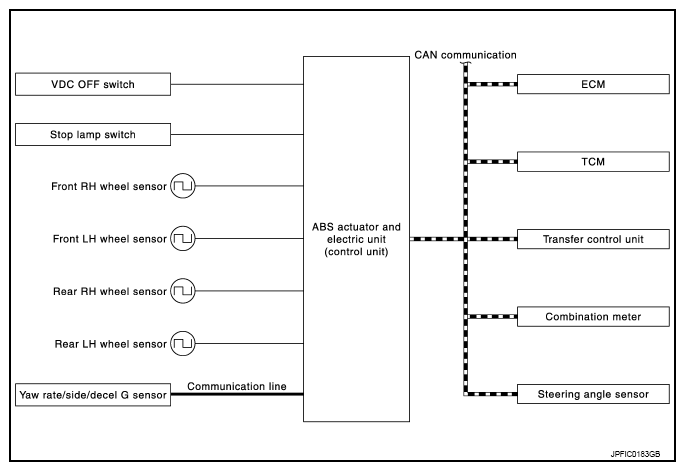
System Diagram

NOTE: Transfer control unit is applied to models with 4WD system.
Fig 1: Brake Limited Slip Differential Function System Diagram
G08855561Courtesy of NISSAN NORTH AMERICA, INC.