LEMON Manuals: Even more car manuals for everyone: 1960-2025
Home >> Infiniti >> 2013 >> QX56 AWD >> Repair and Diagnosis >> External Pages >> Different car >> Section 304 (Brake Control System (Except CROSSCABRIOLET)) >> System Description >> TCS >> System Diagram
April 5, 2026: LEMON Manuals is launched! Read the announcement.

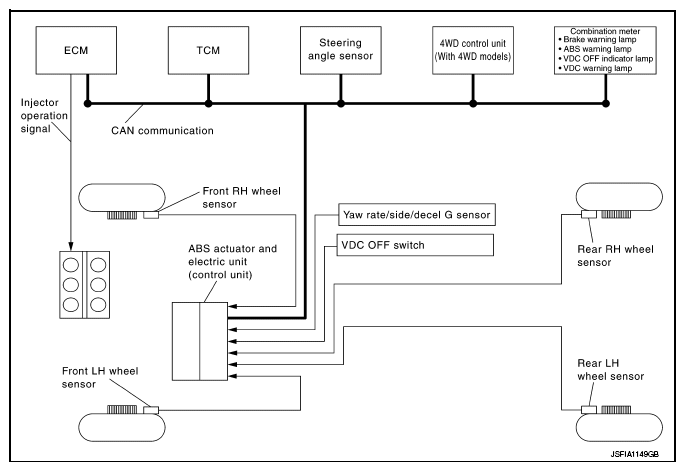
System Diagram

WARNING: This page is about a different car, the 2013 Nissan Murano. However, it is still accessible from the selected car via links, so may be relevant.
Fig 1: TCS - System Diagram
G08956894Courtesy of NISSAN NORTH AMERICA, INC.