LEMON Manuals: Even more car manuals for everyone: 1960-2025
Home >> Infiniti >> 2013 >> QX56 AWD >> Repair and Diagnosis >> Transmission >> Transfer Case >> Basic Inspection >> Configuration (Transfer Control Unit) >> Work Procedure
April 5, 2026: LEMON Manuals is launched! Read the announcement.

Work Procedure

NOTE: In fail-safe mode, can not perform work support. (Except that DTC P181F is detected.)
  1. CONFIRM REPLACING PARTS 

    Confirm the replacing parts.

    What is the replacing parts? 

    Transfer control unit: GO TO 2.

    Transfer control actuator: GO TO  3.

    Transfer assembly: GO TO  4.

  2. WRITE UNIT PARAMETER (1) 

    With CONSULT 

    1. Make the new unit parameter with the following procedure.
      • Confirm the letter of unit parameter (A).
        NOTE:
        • This illustration is sample.
        • For this illustration, the unit parameter is "G3" and the letter of unit parameter is "G".
        Fig 1: Identifying Unit Parameter Letter (G3)
        G07023537Courtesy of NISSAN NORTH AMERICA, INC.
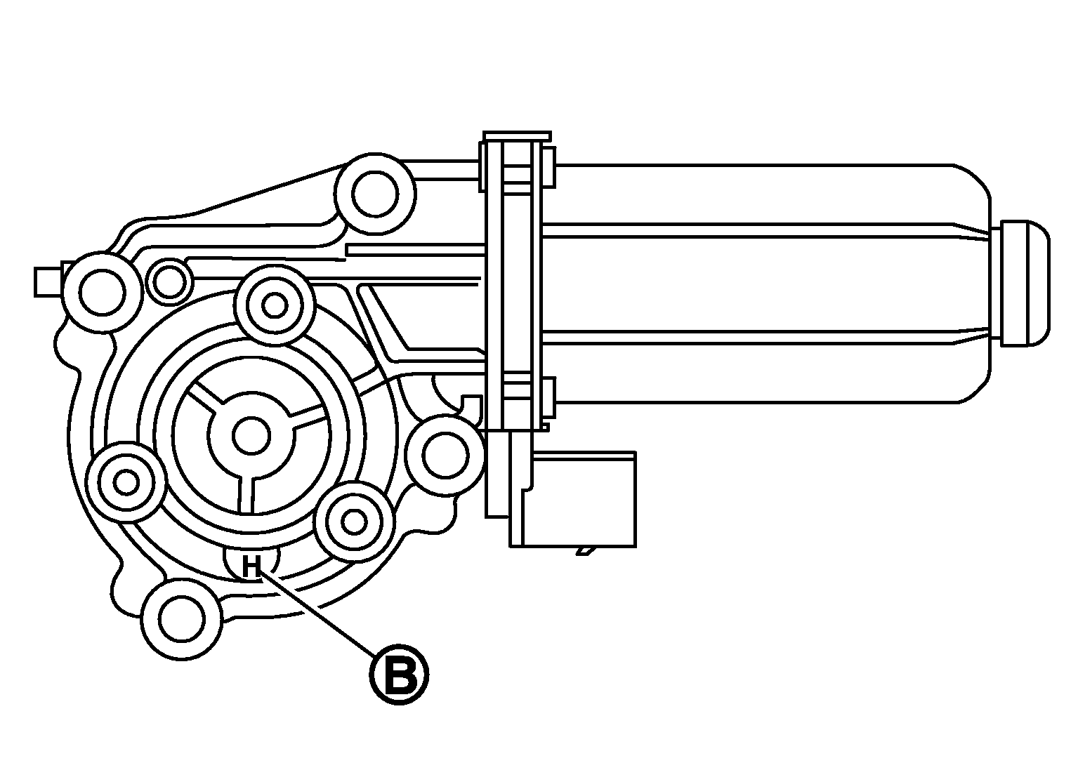
      • Confirm the letter of transfer control actuator parameter (B).
        NOTE:
        • Original transfer control actuator does not have a letter marking.
        • If the transfer control actuator has been replaced, it will have a letter marking.
        • This illustration is sample of replaced transfer control actuator.
        • For this illustration, the letter of transfer control actuator parameter is "H".
        Fig 2: Identifying Transfer Control Actuator Parameter Letter
        G07023538Courtesy of NISSAN NORTH AMERICA, INC.
      • Make a new letter of unit parameter as to the letter of unit parameter and the transfer control actuator parameter, using following chart.

        When the letter of transfer control actuator parameter is not present.

        The letter of original unit parameter A B C D E F G H J
        The new letter of unit parameter A B C D E F G H J

        When the letter of transfer control actuator parameter is "C".

        The letter of original unit parameter A B C D E F G H J
        The new letter of unit parameter A B C C D E E F G

        When the letter of transfer control actuator parameter is "H".

        The letter of original unit parameter A B C D E F G H J
        The new letter of unit parameter B C D D E F F G H

        When the letter of transfer control actuator parameter is "N".

        The letter of original unit parameter A B C D E F G H J
        The new letter of unit parameter C D E E F G G H J
        NOTE: For the sample illustrations, the new letter of unit parameter is "F".
      • Add the same number of unit parameter behind the new letter of unit parameter.
        NOTE: For the sample illustration, the number of unit parameter is "3" and new unit parameter is "F3".
    2. Turn the ignition switch OFF to ON.
    3. Select "UNIT CHARACTERISTICS WRITE" of CONSULT "WORK SUPPORT" for "ALL MODE AWD/4WD".
    4. Input new unit parameter.
    5. Select "Start".
    6. Check that "UNIT CHARACTERISTICS WRITE COMPLETED" or "UNIT CHARACTERISTICS WRITE ALREADY WRITTEN" is displayed.

      : WORK END.

  3. WRITE UNIT PARAMETER (2) 

    With CONSULT 

    1. Make the new unit parameter with the following procedure.
      • Confirm the letter of unit parameter (A).
        NOTE:
        • This illustration is sample.
        • For this illustration, the unit parameter is "G3" and the letter of unit parameter is "G".
        Fig 3: Identifying Unit Parameter letter (G3)
        G07023537Courtesy of NISSAN NORTH AMERICA, INC.
      • Confirm the letter of transfer control actuator parameter (B).
        NOTE:
        • Original transfer control actuator does not have a letter marking.
        • If the transfer control actuator has been replaced, it will have a letter marking.
        • This illustration is sample of replaced transfer control actuator.
        • For this illustration, the letter of transfer control actuator parameter is "H".
        Fig 4: Identifying Transfer Control Actuator Parameter Letter
        G07023538Courtesy of NISSAN NORTH AMERICA, INC.
      • Make a new letter of unit parameter as to the letter of unit parameter and the transfer control actuator parameter, using following chart.

        When the letter of transfer control actuator parameter is "C".

        The letter of original unit parameter A B C D E F G H J
        The new letter of unit parameter A B C C D E E F G

        When the letter of transfer control actuator parameter is "H".

        The letter of original unit parameter A B C D E F G H J
        The new letter of unit parameter B C D D E F F G H

        When the letter of transfer control actuator parameter is "N".

        The letter of original unit parameter A B C D E F G H J
        The new letter of unit parameter C D E E F G G H J
        NOTE: For the sample illustrations, the new letter of unit parameter is "F".
      • Add the same number of unit parameter behind the new letter of unit parameter.
        NOTE: For the sample illustration, the number of unit parameter is "3" and new unit parameter is "F3".
    2. Turn the ignition switch OFF to ON.
    3. Select "UNIT CHARACTERISTICS WRITE" of CONSULT "WORK SUPPORT" for "ALL MODE AWD/4WD".
    4. Input new unit parameter.
    5. Select "Start".
    6. Check that "UNIT CHARACTERISTICS WRITE COMPLETED" or "UNIT CHARACTERISTICS WRITE ALREADY WRITTEN" is displayed.

      : WORK END.

  4. WRITE UNIT PARAMETER (3) 

    With CONSULT 

    1. Confirm the unit parameter (A).
      NOTE:
      • This illustration is sample.
      • For this illustration, the unit parameter is "G3".
    2. Turn the ignition switch OFF to ON.
    3. Select "UNIT CHARACTERISTICS WRITE" of CONSULT "WORK SUPPORT" for "ALL MODE AWD/4WD".
    4. Input unit parameter.
    5. Select "Start".
    6. Check that "UNIT CHARACTERISTICS WRITE COMPLETED" or "UNIT CHARACTERISTICS WRITE ALREADY WRITTEN" is displayed.
      Fig 5: Identifying Unit Parameter Letter (G3)
      G07023537Courtesy of NISSAN NORTH AMERICA, INC.

      : WORK END.