Removal and Installation: Installation: Notes
Note the following, and install in the reverse order of removal.
- When installing the transfer to the transmission, install the mounting bolts following the standard below, tighten bolts to the specified torque.
Bolt symbol A B Insertion direction Transfer to transmission Transmission to transfer - When installing transfer breather hose assembly, check that there are no bend and twist on the transfer breather hose.
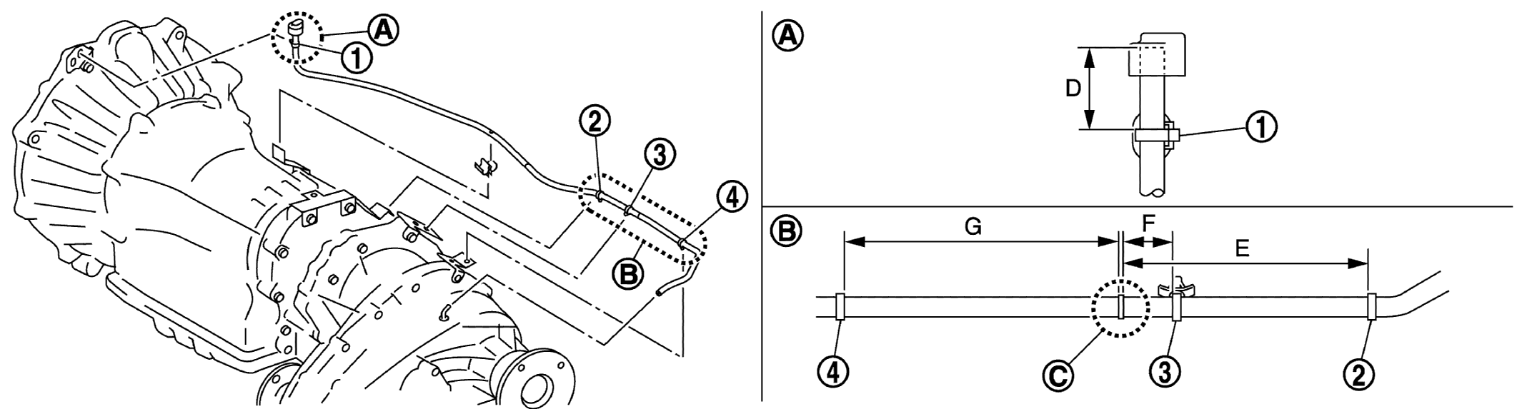
- Align paint marks (A) to connect breather hoses (1), (2), and (3) with breather connectors (4) in numerical order.
Align arrow mark (B) of breather (5) with mark "C" of breather hose.
- Install hose clip (1) to the position where the distance from the breather side hose end is dimension "D." Install hose clip (2), (3), and (4) to the positions where the distance from breather hose joint (C) is dimension "E," "F," and "G," respectively, as shown in the figure below.
Dimension
D: 26.3 mm (1.035 in)
E: 121.7 mm (4.791 in)
F: 25.0 mm (0.984 in)
G: 143.0 mm (5.630 in)
CAUTION:
- To install hose clips (1), (2), (3), and (4), observe the angle/orientation shown in the figure below.
Angle A: 45° ± 15°
- Never reuse hose clip
- After tightening band of clip, cut the extra part.