LEMON Manuals: Even more car manuals for everyone: 1960-2025
Home >> Infiniti >> 2015 >> Q40 AWD >> Repair and Diagnosis >> Body & Frame >> Windows >> Glass & Window System >> Removal And Installation >> Front Regulator >> Exploded View With Torque Specifications
April 5, 2026: LEMON Manuals is launched! Read the announcement.

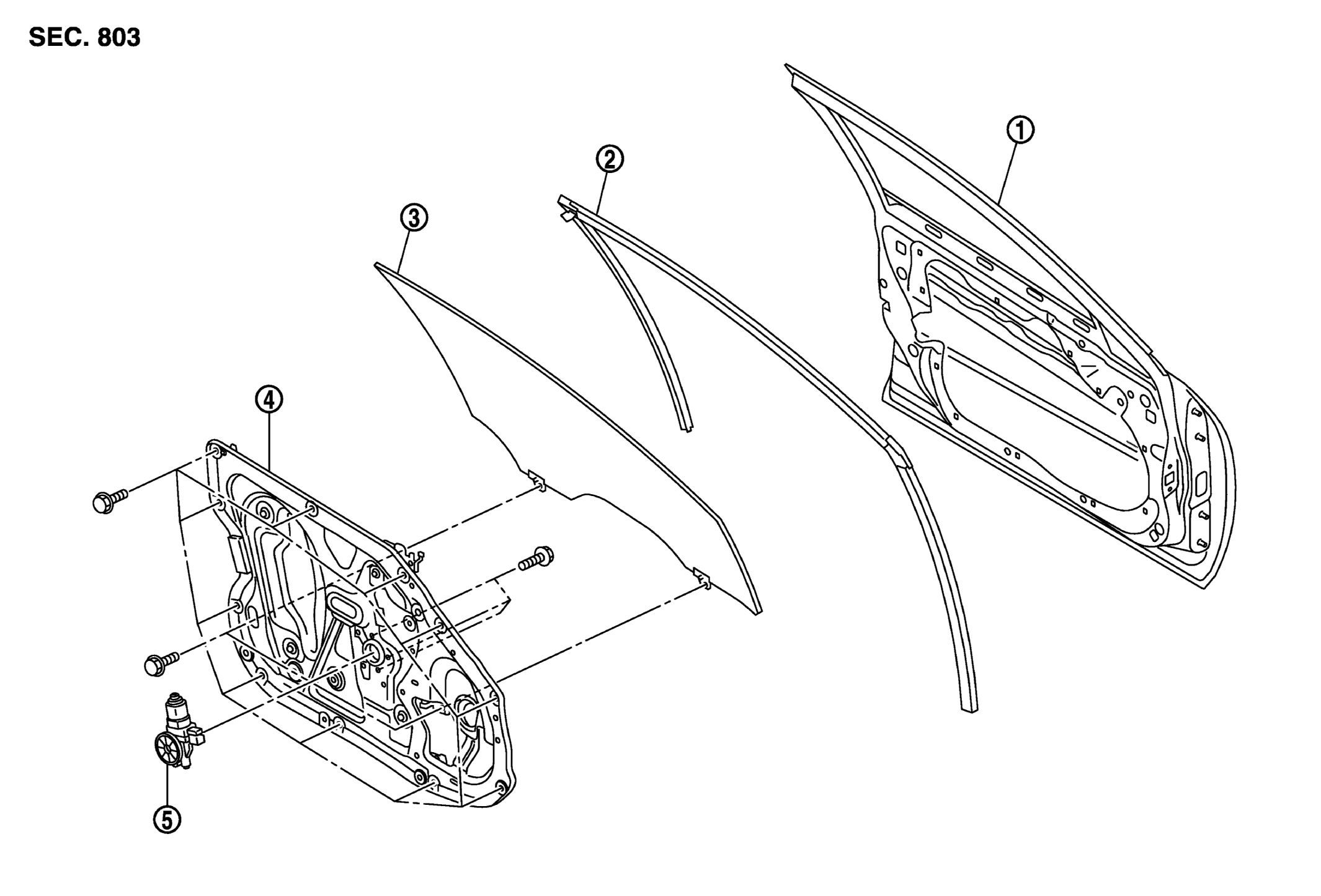
Exploded View With Torque Specifications

Fig 1: Exploded View Of Front Regulator
G08453593Courtesy of NISSAN NORTH AMERICA, INC.
1. Front door panel 2. Door glass run 3. Door glass
4. Module assembly 5. Power window motor