LEMON Manuals: Even more car manuals for everyone: 1960-2025
Home >> Infiniti >> 2015 >> Q40 AWD >> Repair and Diagnosis >> Brakes >> Traction Control >> Brake Control System (VDC/TCS/Abs) >> System Description >> TCS >> System Diagram
April 5, 2026: LEMON Manuals is launched! Read the announcement.

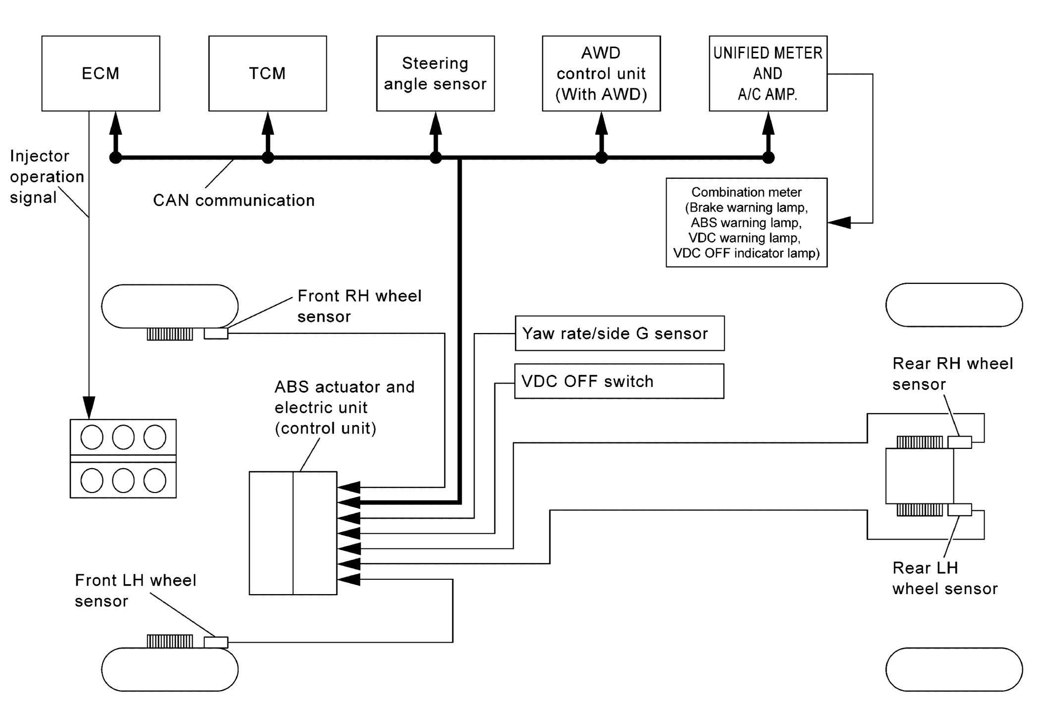
System Diagram

Fig 1: Traction Control System Diagram
GNSJSFIA2763GB-763Courtesy of NISSAN NORTH AMERICA, INC.