LEMON Manuals: Even more car manuals for everyone: 1960-2025
Home >> Infiniti >> 2015 >> Q40 AWD >> Repair and Diagnosis >> Transmission >> Transfer Case >> System Description >> AWD System >> System Diagram >> Cross-Sectional View
April 5, 2026: LEMON Manuals is launched! Read the announcement.

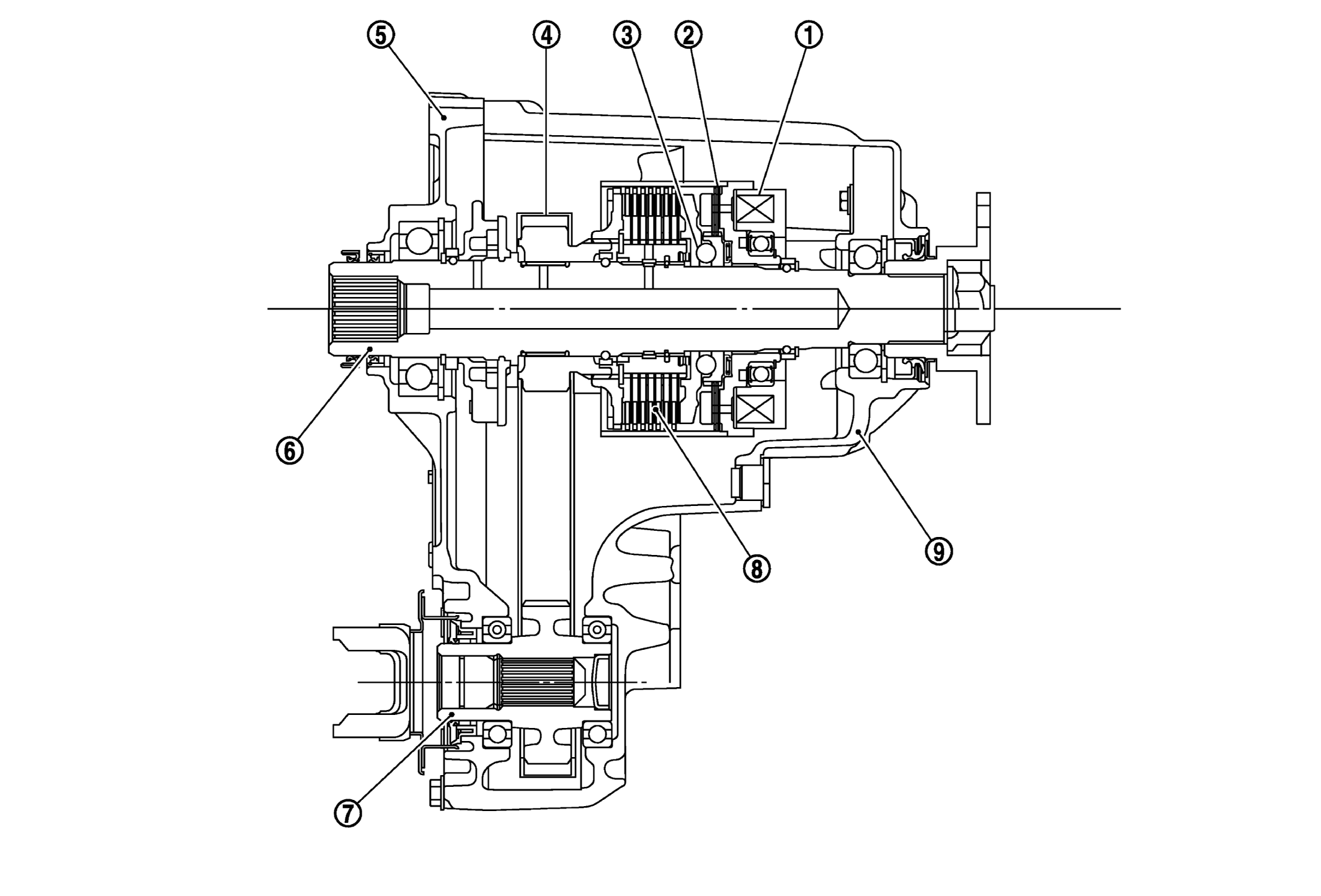
Cross-Sectional View

Fig 1: Cross-Sectional View Of Transfer Case
GNSJSDIA0803ZZ-803Courtesy of NISSAN NORTH AMERICA, INC.
1. Electromagnet 2. Control clutch 3. Cam
4. Drive chain 5. Front case 6. Main shaft
7. Front drive shaft 8. Main clutch 9. Rear case