LEMON Manuals: Even more car manuals for everyone: 1960-2025
Home >> Infiniti >> 2015 >> Q50 Base, AWD >> Repair and Diagnosis >> Engine Performance >> System >> Engine Control System (Introduction) (Exc Hybrid) >> System Description >> Structure And Operation >> Positive Crankcase Ventilation
April 5, 2026: LEMON Manuals is launched! Read the announcement.

Positive Crankcase Ventilation

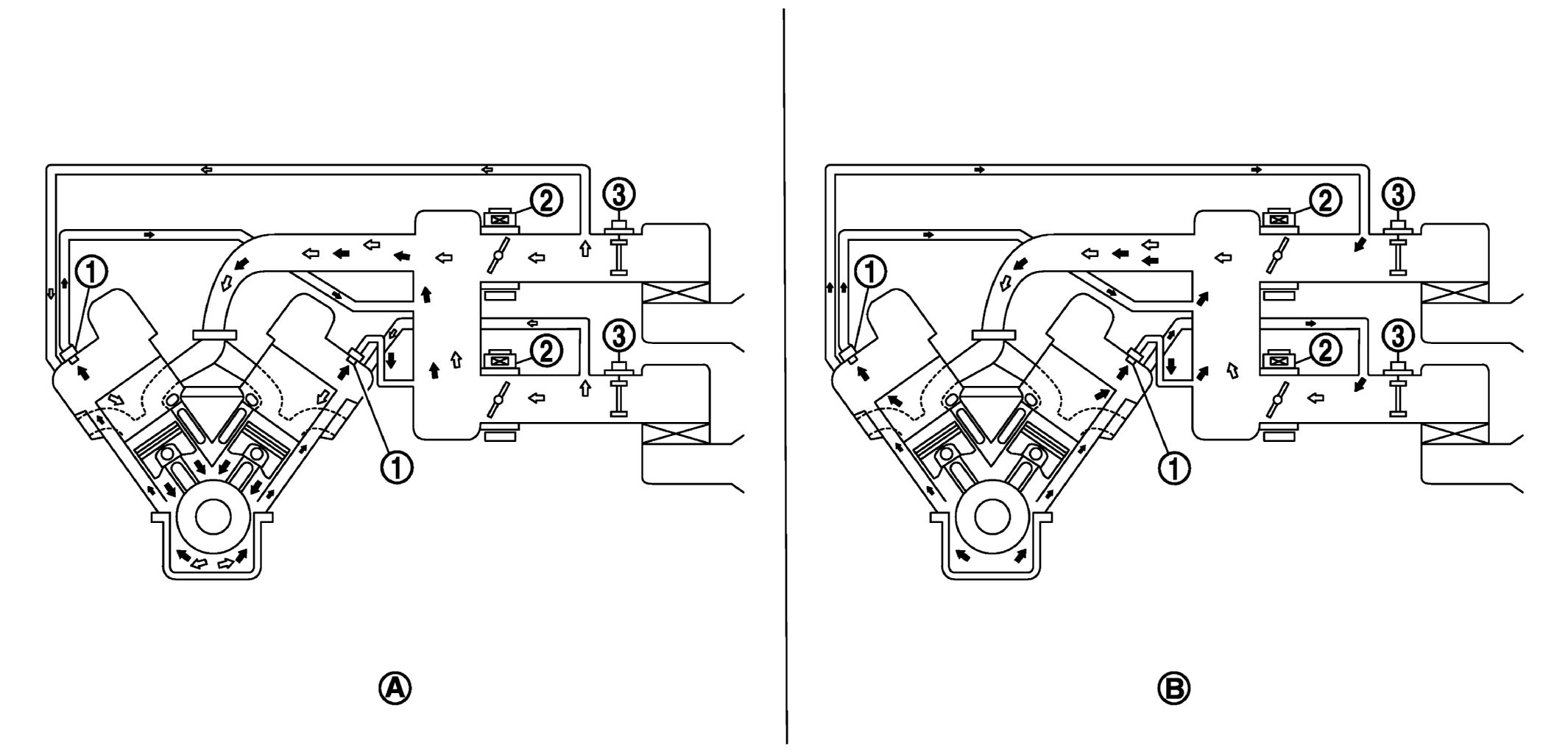
Fig 1: Positive Crankcase Ventilation Flow Diagram
GNSJMBIA1237ZZ-237Courtesy of NISSAN NORTH AMERICA, INC.
  PCV valve   Electric throttle control actuator   Mass air flow sensor
  Normal condition   Hi-load condition    
: Fresh air
: Blow-by air

This system returns blow-by gas to the intake manifold.

The positive crankcase ventilation (PCV) valve is provided to conduct crankcase blow-by gas to the intake manifold.

During partial throttle operation of the engine, the intake manifold sucks the blow-by gas through the PCV valve.

Normally, the capacity of the valve is sufficient to handle any blow-by and a small amount of ventilating air.

The ventilating air is drawn from the air inlet tubes into the crankcase. In this process the air passes through the hose connecting air inlet tubes to rocker cover.

Under full-throttle condition, the manifold vacuum is insufficient to draw the blow-by flow through the valve. The flow goes through the hose connection in the reverse direction.

On vehicles with an excessively high blow-by, the valve does not meet the requirement. This is because some of the flow will go through the hose connection to the air inlet tubes under all conditions.

Fig 2: Crankcase Ventilation Operation Condition
G04073667Courtesy of NISSAN NORTH AMERICA, INC.